¡Hola, Yamaha Niken! Aprilia está un paso más cerca de tener una rival de la moto de tres ruedas japonesa

Aprilia Desarrollo Moto Tres Ruedas 2022 001
1 comentario Facebook Twitter Flipboard E-mail
suso-martin

Suso Martín

Redactor
suso-martin

Suso Martín

Redactor

Hace un año os contábamos que la firma italiana estaba preparado un triciclo que pudiese competir de tú a tú con la Yamaha Niken en su misma cilindrada. Pues bien, hoy han salido nuevas patentes que certifican que la fábrica de Noale sigue con su proceso de desarrollo.

En las nuevas imágenes se pueden observar ciertos cambios tanto en la arquitectura del sistema de suspensión delantera como en la mecánica que lo propulsará, dejando atrás la obsoleta Aprilia Mana 850 y aprovechando la nueva estructura del motor 660.

Nuevas soluciones para la suspensión del triciclo

Aprilia Desarrollo Moto Tres Ruedas 2022 005

Hace un año os informábamos que Aprilia estaba desarrollando un triciclo deportivo con el que poder competir en el mercado con la Yamaha Niken. Y es que el Grupo Piaggio, al que pertenece Aprilia, sabe de sobra lo que es trabajar con triciclos. Una de las primeras motos que sacó al mercado con esta tecnología fue el Piaggio MP3, convirtiéndose en un éxito de ventas que cambió el paradigma de las grandes ciudades.

Actualmente cuenta con versiones muy potentes que van desde los 300 hasta los 500 cc. Sin embargo, estos motores se quedan cortos en comparación a los de la marca de los diapasones. No obstante juegan en otra categoría. Esta nueva opción, de la que no podemos confirmar mucho más, se situaría un escalón por encima y trataría de ponerle difícil las cosas a Yamaha.

Aprilia Desarrollo Moto Tres Ruedas 2022 004

En un principio, este nuevo triciclo de carácter deportivo utilizaba la parte trasera de una moto que no veíamos desde el 2008, la Aprilia Mana 850. Sin embargo, los nuevos bocetos presentados en la oficina de patentes ya no muestran ningún vehículo conocido. Ahora se puede observar un chasis vacío en el que creemos que podría acoplarse el nuevo motor de la Aprilia RS y de la Tuono, homologados para la última normativa anticontaminación y capaces de desarrollar una potencia de hasta 100 CV.

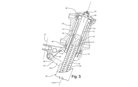
También podemos observar cambios importantes en el sistema de suspensión y dirección del triciclo. En el primer proyecto presentado por la fábrica de Noale, este se basaba en un sistema de paralelogramos de cuatro puntos (dos arriba y dos abajo) que se unían por la pipa de la dirección. De él salía un amortiguador de doble brazo para cada rueda y permitía inclinarlas de manera independiente.

Aprilia Desarrollo Moto Tres Ruedas 2022 002

Sin embargo, aprovechando los diez años de experiencia conseguida con el Piaggio MP3, en el nuevo proyecto se han presentado dos soluciones totalmente diferentes. La geometría basculante de estilo paralelogramo se mantiene pero abandonan la idea de contar con una suspensión de tipo horquilla.

La apuesta que hace ahora Aprilia es la de utilizar un único vástago telescópico para cada una de las dos ruedas delanteras, conectándolas con un sistema de tijera entre las secciones que permita controlar la dirección y evite que la parte inferior gire de manera independiente. Otra de las soluciones propuestas es la de crear un solo enganche de dirección en la sección inferior, pero añadiendo una rótula a la tija superior.

Aprilia Desarrollo Moto Tres Ruedas 2022 003

De momento esta es toda la información que hemos podido encontrar. Estamos deseando saber mucho más acerca de esta posible moto que, en el caso de que se hiciese realidad, se podría llevar con el carnet de coche. Os pondremos al día en cuanto tengamos más información.

En Motorpasión Moto | Probamos la Triumph Tiger Sport 660: una moto equilibrada y premium para el A2 que se lo pondrá difícil a las Tracer 7 y Versys 650 | Probamos la Ducati Panigale V4 S: una deportiva con 215,5 CV que es aún más potente y avanzada, pero también más fácil

Comentarios cerrados
Inicio