HOY SE HABLA DE

A Piaggio no le basta con las suspensiones actuales. Quiere revolucionar la seguridad de las motos de dos y tres ruedas

Nueva Moto De Tres Ruedas Y Suspension Monobrazo De Piaggio004
Sin comentarios Facebook Twitter Flipboard E-mail
suso-martin

Suso Martín

Redactor
suso-martin

Suso Martín

Redactor

Piaggio quiere seguir explorando el mundo de las tres ruedas. Por eso, a finales del año pasado patentó un nuevo sistema de suspensión que podría llegar no en una scooter, sino en una moto que competiría de tú a tú con la Yamaha Nikken.

Pues bien ahora sabemos que ese desarrollo ha seguido adelante y que la nueva estructura no solo se aplicará a esta moto sino que podría llegar a aplicarse incluso a cualquier moto, ya que el sistema de tijera doble se puede simplificar en uno solo, dejando una nueva suspensión monobrazo.

Una suspensión con múltiples aplicaciones

Nueva Moto De Tres Ruedas Y Suspension Monobrazo De Piaggio002

En enero os informábamos que Aprilia estaba desarrollando un triciclo deportivo para competir en el mercado con la Yamaha Niken. Y es que el Grupo Piaggio, al que pertenece Aprilia, sabe de sobra lo que es trabajar con triciclos.

Una de los primeros vehículos que sacó al mercado con esta tecnología fue el Piaggio MP3, convirtiéndose en un éxito de ventas que cambió el paradigma dentro de las grandes ciudades. Sin embargo, el grupo italiano no ha dejado de desarrollar esta tecnología a lo largo de los años y en su nueva patente podemos ver esa evolución.

Nueva Moto De Tres Ruedas Y Suspension Monobrazo De Piaggio003

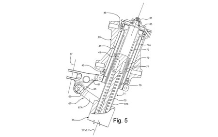
Inspirados por un sistema que fue patentado por James Watt en 1784 (a finales del siglo XVIII), Piaggio ha presentado ahora una suspensión que funciona por paralelogramos y tirantes con el objetivo de crear un tren delantero de doble rueda que reduzca los movimientos laterales y su tamaño, haciéndose a la vez más ligero.

Para lograrlo, dejó atrás el sistema de paralelogramos convencional de cuatro puntos que se unían por la pipa de la dirección y que utilizaba un amortiguador de doble brazo para cada rueda, para utilizar ahora uno con un único vástago telescópico en cada una de las dos ruedas delanteras, haciendo que su conexión fuese a través de un sistema de tijera que permitiese controlar la dirección y evitar que la parte inferior gire de manera independiente.

Nueva Moto De Tres Ruedas Y Suspension Monobrazo De Piaggio001 Suspensión monobrazo aplicada a la Beverly

La ventaja de esta posible tecnología es que sería traspasable a vehículos con una sola rueda delante. Y es que utilizando la 'mitad' de este nuevo sistema se podría conseguir una suspensión monobrazo que trabajase igual de bien que una suspensión doble o paralela, reduciendo su tamaño.

Para ejemplificarlo, la marca italiana aplicó en su boceto de la patente esta nueva suspensión a una Piaggio Beverly, evidenciando sus posibilidades. No obstante, no es exclusivo de scooters. También puede aplicarse a motos 'normales'.

Nueva Moto De Tres Ruedas Y Suspension Monobrazo De Piaggio005 Piaggio Beverly con suspensión delantera tradicional

Tampoco se tiene muy claro bajo qué marca podría venderse la posible deportiva de tres ruedas que dijimos en el anterior artículo. Y es que de llegar esta rival de la Niken, los de Noale podrían utilizar Gilera en vez del de Aprilia, dándole una gama exclusiva con diferentes posibilidades enfocadas a la deportividad y a una tecnología exclusiva. Pero como decimos, todo son especulaciones. Veremos como se desarrollan los hechos.

Comentarios cerrados
Inicio