HOY SE HABLA DE

Alerones que se mueven. La nueva BMW M 1000 RR quiere ser la primera moto con aerodinámica activa, en calle y en pista

Bmw Aero 3 2024
Sin comentarios Facebook Twitter Flipboard E-mail
john-fernandez

John Fernández

Ya contamos hace unos días que BMW no estaba en el mundial de MotoGP, pero que eso no le impedía a los alemanes hacer todo tipo de alardes e innovaciones aerodinámicas, como los que acababa de presentar para que sus deportivas tumbasen más y mejor.

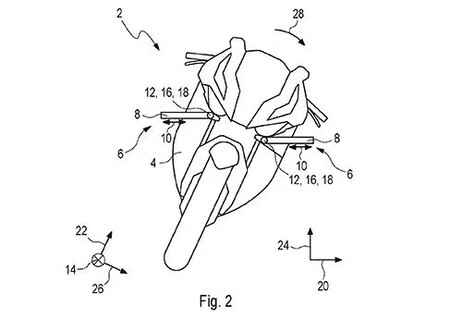
Hay algo más, y de planteamiento mucho más profundo que la anterior patente: un sistema de alerones móviles para su BMW S/M 1000 RR. Y tendría un claro objetivo, llegar al Mundial de Superbikes, donde no están prohibidas.

Las ayudas aerodinámicas activas no están prohibidas en el WSBK si llegan a motos de calle

Bmw Aero 5 2024

Las ayudas aerodinámicas en movimiento están prohibidas en MotoGP. Son altamente útiles, y si no han llegado es precisamente a causa del reglamento. Sin embargo, en el WSBK sí que son posibles, pero nadie se ha atrevido a traerlo hasta el momento. Y puede que BMW esté a punto de cambiar ese paradigma.

Pero empecemos la casa por el tejado. Los alerones ya están establecidos como algo normal en las deportivas de calle y circuito; son útiles porque ayudan a controlar los caballitos o 'wheelies'; aumentan el agarre en recta (más velocidad) y también ayudan a frenar. Sin embargo, las curvas son otra historia.

El paso por curva es uno de los momentos más complejos a nivel de rendimiento y aerodinámica en una moto. Conseguir una aerodinámica utilizable en ellas es lo que todos buscan, como BMW en su anterior patente, o el efecto suelo de Aprilia.

Bmw Aero 2 2024

Pues BMW estudia ya la fórmula para emplearlo en el WSBK con su última idea: alerones móviles controlados electrónicamente.

¿Cómo? Con el propósito de mantener las aletas en posición horizontal en todo momento, asegurando así la continuidad del efecto aerodinámico incluso durante la inclinación de la moto, BMW utilizará servos y datos del sensor IMU para realizar ajustes constantes en la posición de los winglets.

Bmw Aero 1 2024

Lo que nos enseña la patente no describe el sistema a la perfección, mucho menos ahonda en él. El objetivo es proteger la idea, y nos enseñan unas aletas articuladas unidas a unos actuadores (parece que controlados electrónicamente) que las mantienen en posición horizontal, sin importar el ángulo de inclinación de la BMW.

Nada prohíbe el uso de elementos móviles en el WSBK, al menos hasta ahora. La reglamentación únicamente dice que este tipo de elementos aerodinámicos activos o dinámicos están permitidos con una condición: que esté homologado. En otras palabras, que esté equipado en motos de producción en serie.

Bmw Aero 4 2024

Eso nos lleva de cabeza a la siguiente conclusión: tendrán que equiparlo en una superbike de producción, y naturalmente esa es la S 1000 RR o M 1000 RR.

La nueva generación de superbikes apunta bien alto. BMW ya tiene este y otro proyecto en mente para su próxima revisión. No son los únicos en experimentar ni proteger la aerodinámica móvil; Honda ya patentó aquella idea de alerones abatibles dependiendo de la curva y su necesidad, así como los paneles móviles que avisan al piloto.

Comentarios cerrados
Inicio