Kawasaki podría estar preparando una moto eléctrica tan potente que necesitaría refrigeración líquida de aceite

Kawasaki podría estar preparando una moto eléctrica tan potente que necesitaría refrigeración líquida de aceite
Sin comentarios Facebook Twitter Flipboard E-mail
jesus-martin

Jesus Martin

Coordinador
jesus-martin

Jesus Martin

Coordinador

Vientos de cambio suenan en el país del sol naciente. Las patentes siguen floreciendo antes de que llegue la primavera y en este caso es Kawasaki quien se adentra (o parece que se va a adentrar) en el mundo de las motos eléctricas.

No en vano, no es la primera vez que escuchamos hablar sobre la posibilidad de una moto eléctrica de Kawasaki, las primeras filtraciones eléctricas de Akashi nos llegaron en 2016, la única diferencia es que ahora los planes parecen mucho más detallados y minuciosos en la fábrica japonesa.

Cuando la refrigeración por aire no es suficiente

Moto Electrica Kawasaki 2

Hay como cientos de miles de fabricantes (o pretendientes de fabricantes) lanzando ideas y propuestas sobre motos eléctricas, pero la realidad es que muy pocas llegan a materializarse más allá de los intentos de captación de capital. Mientras tanto, las grandes marcas trabajan en silencio con sus productos y salvo Harley-Davidson con la LiveWire, nadie va a lanzar todavía un modelo eléctrico a tamaño completo.

Puede que una de las motos eléctricas que vengan a rebufo de la americana sea del otro lado del mundo, desde Japón, y es que las informaciones que nos llegan apuntan a que Kawasaki está trabajando en algo eléctrico y muy gordo gracias a una nueva patente filtrada.

Moto Electrica Kawasaki 1

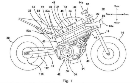
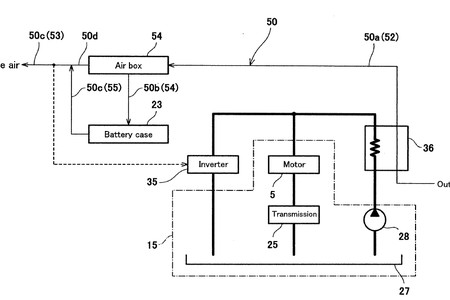
Esta suposición viene de la mano de un principio básico. De momento sabemos que las motos eléctricas que se mueven en la actualidad utilizan refrigeración de aire para disipar el calor que se genera en sus baterías y motor. En el caso de la patente presentada por Kawasaki se refleja la introducción de un radiador que delata una refrigeración líquida, pero no de agua, sino de aceite. Un sistema similar al que utilizan la Lightning LS-218 o la Energica Ego, dos de las deportivas eléctricas más potentes.

Que Kawasaki vaya a introducir refrigeración líquida en su futura moto eléctrica sólo puede decir una cosa y es que lo que quiera que sea en lo que están trabajando, va a generar mucha potencia y por tanto va a producir una cantidad de calor superior a la que una refrigeración de aire podría soportar sin mermar la vida útil del sistema.

Moto Electrica Kawasaki 4

Otro punto interesante es que en uno de los esquemas que figuran en la patente es que junto al motor aparece una transmisión, por lo que al igual que han hecho en Tacita, podría tener algún tipo de cambio de marchas, con o sin embrague, para extraer el máximo rendimiento disponible del motor eléctrico en lugar de limitarse a una transmisión directa de energía a la rueda trasera.

Otra de las señas de identidad que podrían definir a la futura moto eléctrica de Kawasaki será la adopción de su admisión de aire presurizada (ram-air). Además de en los dibujos que puedes ver sobre estas líneas, una patente previa también dejó ver este elemento en el boceto, aunque desconocemos qué tipo de función podría tener, ya que en las motos de combustión la presión del aire genera más potencia, pero en una moto eléctrica... difícil.

Moto Electrica Kawasaki

De momento lo único que podemos hacer es esperar pero sí podemos tener una cosa cierta. Si Kawasaki se adentra en el segmento de las motos eléctricas no va a ser una moto aburrida, ya sabemos de lo que son capaces los de Akashi y, entre los japoneses, son los que más pasión le echan a sus modelos. Y si no que le pregunten a la Kawasaki H2.

Comentarios cerrados
Inicio