Una moto híbrida de BMW está en el horno, con dos motores eléctricos (y quizá un tercero)

Una moto híbrida de BMW está en el horno, con dos motores eléctricos (y quizá un tercero)
Sin comentarios Facebook Twitter Flipboard E-mail
jesus-martin

Jesus Martin

Coordinador
jesus-martin

Jesus Martin

Coordinador

En un mundo industrial en el que te reinventas o mueres, las patentes cada vez nos están dando más que hablar. Para esta ocasión le toca el turno a BMW y sí, además de una moto que se conduce sola y un proyecto para equipar la rueda delantera de una BMW R 1200 GS con un motor eléctrico, parece que los de Múnich están trabajando en una motorización híbrida.

Porque resulta que, aunque parezca la antítesis del planteamiento de una motocicleta, la hibridación es una opción a tener en cuenta, aunque sólo sea porque los límites de emisiones son cada vez más y más restrictivos y ponen en jaque las mecánicas tradicionales.

No uno, sino dos motores eléctricos para BMW

Bmw Hibrida 2019

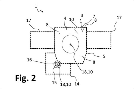
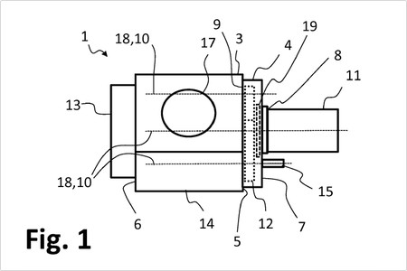
La patente recogida en Free Patents Online y registrada el 13 de febrero de 2019 muestra un invento que aparentemente por lo que podemos ver en los bocetos parece bastante sencillo o al que difícilmente podríamos atribuir una función, pero que cuya descripción no deja lugar a demasiadas dudas.

Traducido al lenguaje humano (y al castellano), la descripción habla sobre un motor de combustión de gasolina al que se le asocian un par de elementos eléctricos en el interior del motor, uno junto al embrague y otro a la salida de la transmisión.

Bmw Hibrida 2019 1

No hay demasiada información más al respecto ni tampoco podemos elucubrar nada en base a los bocetos, ya que parecen muy simples, pero el sistema podría albergar según la figura 4 un paquete de baterías situado en algún punto muy próximo al centro de gravedad de la moto para alimentar el sistema.

Mientras tanto, la hibridación presentada por Wunderlich en 2015 como globo sonda sigue vigente y alentando nuevas posibilidades. Complementando al ya conocido sistema de motorización de la rueda delantera con este segundo equipamiento se puede conseguir una moto doblemente híbrida, con actuación eléctrica sobre ambos ejes (uno directamente en la rueda y otro a través de la transmisión secundaria), dedicando cada uno de los motores a propósitos distintos en función de las necesidades.

Bmw Hibrida 2019 3

En el caso de un motor eléctrico (o varios) situado en el interior del propio motor de combustión se conseguiría ayudar a conseguir consumos mucho más reducidos, aprovechar todo el freno motor para regenerar energía y, colocando al motor eléctrico dentro del bloque, reducir el tamaño del sistema y evitar colocar otro elemento externo en una moto, ya sea en la rueda o en la transmisión.

Todo sea por la reducción de emisiones, aunque haya que soportar un incremento de peso que con tanto elemento accesorio será bastante elevado.

Comentarios cerrados
Inicio