HOY SE HABLA DE

Más allá de la competición para la calle: BMW patenta alerones móviles para sus motos, y podrían llegar con la próxima R 1250 GS

Bmw Dispositivo Aerodinamico Adaptativo 005
2 comentarios Facebook Twitter Flipboard E-mail
suso-martin

Suso Martín

Redactor
suso-martin

Suso Martín

Redactor

BMW acaba de patentar un sistema aerodinámico adaptativo. Se trata de una tecnología que permitiría al usuario desviar la corriente de aire de su cuerpo para reducir el efecto vela o protegerlo de las inclemencias como la lluvia o el barro.

El dispositivo podemos verlo acoplado a una BMW GS según los papeles homologados en la oficina de patentes alemana, sin embargo, dentro de la propia homologación hace referencia a que este dispositivo podría funcionar en cualquier otra motocicleta sin problemas, ya sea scooter, triciclo o cuadriciclo ligero.

Puede funcionar con uno, dos y hasta tres elementos distintos

Bmw Dispositivo Aerodinamico Adaptativo 003

Si por algo se caracteriza BMW es por estar siempre a la última en cuanto a tecnología y nuevos productos que puedan satisfacer al usuario. Por eso no es de extrañar que la compañía alemana esté entre las marcas más buscadas a la hora de cambiar tanto de motocicleta como de coche.

Hoy, gracias a Ride Apart, nos hemos enterado de la última innovación en la que esta inmersa para mejorar la circulación sobre dos ruedas. Se trataría de unos alerones aerodinámicos adaptativos que desviarían el aire hacia los lados para evitar que el conductor ofrezca resistencia al aire.

Bmw Dispositivo Aerodinamico Adaptativo 002

El documento que acredita esta nueva tecnología fue presentado en la oficina de patentes alemana por primera vez en agosto de 2021, pero no se publicó oficialmente hasta finales de marzo de 2022. En estos documentos podemos ver una serie de dibujos que explican a la perfección el funcionamiento del nuevo artilugio.

Éstos se han realizado sobre la base de una BMW GS y en ella podemos ver acoplado tres elementos diferentes en el carenado delantero que ayudan a canalizar el aire. Según la compañía, esta nueva tecnología puede acoplarse a cualquier tipo de moto, ya sea naked, aventura o scooter con cualquier configuración de rueda, ya sea de dos, tres e incluso cuatro ruedas.

¿Cómo funciona el dispositivo aerodinámico adaptativo?

Bmw Dispositivo Aerodinamico Adaptativo 001

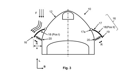
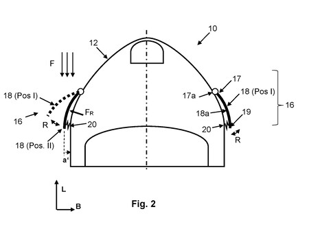
De acuerdo a lo mostrado en la patente, se acoplan una serie de elementos aerodinámicos de tipo canaleta en los laterales del carenado. Éstos se abren hacia fuera (despegándose de la carrocería) o se cierren (acoplándose al carenado) de manera automática en función de la velocidad a la que vayamos sin que el conductor tenga que hacer nada, evitando posibles distracciones.

Su accionamiento se produce a través de unos resortes. Si la marcha que llevamos es lenta, estos resortes se desplegarán de manera automática haciendo que el aire (o la lluvia) se desvíe lateralmente del cuerpo del conductor. Cuando aumentemos la velocidad de la moto, la presión ejercida por el propio viento será la que vaya cerrando el resorte, ofreciendo menos resistencia al aire.

Bmw Dispositivo Aerodinamico Adaptativo 006

De acuerdo a los papeles de homologación, este dispositivo puede acoplarse a cualquier vehículo de la marca. Así que no sería de extrañar que lo encontrásemos en la nueva generación de la R 1250 GS que está preparando o en alguna actualización de su scooter eléctrico CE-04. Sólo el tiempo nos sacará de dudas respecto a este artilugio.

Comentarios cerrados
Inicio