El motor de dos tiempos resucita. Estamos a punto de vivir una nueva era de la moto gracias a la carrera de Japón y Estados Unidos

El dos tiempos no ha muerto: ha mutado en un motor del siglo XXI

Motores
Sin comentarios Facebook Twitter Flipboard E-mail
john-fernandez

John Fernández

Hay quien lleva años empeñado en resucitar el motor de dos tiempos, aunque todo el mundo repita que está muerto. Y lo curioso es que, esta vez, no suena a nostalgia ni a romanticismo mecánico: suena a ingeniería seria, a patentes recientes y a fabricantes grandes metiendo dinero y horas de laboratorio. El dos tiempos clásico no volverá. Pero el principio, ese que permite una explosión por cada vuelta del cigüeñal, está más vivo de lo que parece.

Durante décadas, el problema ha sido siempre el mismo. El dos tiempos tradicional es simple, ligero y muy potente para su tamaño, pero también sucio. El barrido de gases mezcla aire fresco con escape, se pierde combustible sin quemar y el aceite acaba humeando por el tubo de escape. En tiempos de normativas de emisiones cada vez más duras, eso es una sentencia de muerte. Por eso desapareció de las motos de calle y quedó relegado a nichos muy concretos.

Japón y EE.UU, a la carrera por el motor de dos tiempos

Lo interesante es que nadie está intentando salvar ese diseño antiguo. Lo que se está rescatando es la idea base: un ciclo útil en cada vuelta del cigüeñal. A partir de ahí, todo cambia. Inyección directa, aire comprimido, válvulas, manguitos deslizantes, turbos eléctricos… El dos tiempos del futuro no se parece en nada al de una 125 de los noventa.

La clave común en todos los desarrollos recientes es separar el aire del combustible. Primero se limpia el cilindro solo con aire, y el combustible entra después, justo antes del encendido. Así se evitan las pérdidas por barrido y se reducen drásticamente las emisiones. Sobre el papel, eso permite conservar las ventajas del dos tiempos sin su mayor defecto histórico.

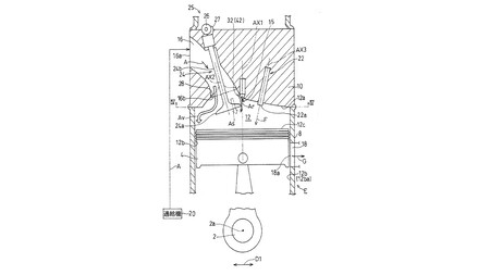
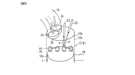
Uno de los planteamientos más llamativos es el que propone un fabricante japonés con una patente que rompe muchos esquemas. Su motor sigue siendo de dos tiempos porque hay combustión en cada punto muerto superior, pero introduce válvulas de admisión, sobrealimentación y una gestión del flujo de gases que recuerda más a un cuatro tiempos moderno. El aire entra forzado, limpia la cámara y solo después se inyecta el combustible directamente. El objetivo es claro: nada de mezcla fresca escapándose por el escape.

Motor2t

La idea es brillante, pero no está cerrada. Sigue existiendo el reto de medir con precisión cuánto aire queda realmente en el cilindro tras el barrido, algo crucial para ajustar la inyección. Y luego está la gran pregunta incómoda: cómo lubricar cilindro y pistón sin recurrir al aceite mezclado con el combustible, recordando que el cilindro sigue teniendo aberturas para el escape.

Desde Estados Unidos, la industria del automóvil también ha metido la nariz en este terreno. Allí el enfoque es distinto, recuperando una solución antigua pero reinterpretada con tecnología actual: manguitos deslizantes que hacen las veces de distribución. En lugar de válvulas tradicionales, un sistema de camisas controla cuándo se abren y cierran los conductos de admisión y escape. Todo ello combinado con un sistema de sobrealimentación híbrido, capaz de funcionar como compresor a bajas vueltas y como generador a altas revoluciones aprovechando los gases de escape.

Otor 2t 2

De nuevo, el planteamiento busca lo mismo: limpiar el cilindro con aire, inyectar combustible solo cuando toca y evitar pérdidas. Y de nuevo aparecen los mismos interrogantes. Cómo se controla el llenado real de aire y cómo se gestiona la lubricación sin que el aceite acabe quemándose o saliendo por el escape.

Más cerca de la producción está el caso de una empresa que no piensa solo en motos o coches, sino en motores capaces de funcionar con casi cualquier combustible. Su dos tiempos moderno prescinde de válvulas convencionales, utiliza inyección directa y un sistema propio para controlar el escape, ampliando el rango de uso del motor. La ambición aquí es enorme: gasolina, diésel, hidrógeno o combustibles pesados, todo en el mismo concepto mecánico.

Motor 2t 3

Este tipo de motores ya se están probando y, al menos sobre el papel, demuestran que el dos tiempos puede ser limpio, eficiente y muy compacto. Siguen pendientes las mismas cuestiones técnicas que en los otros proyectos, pero el salto respecto al dos tiempos clásico es radical.

Lo que deja claro todo esto es que el dos tiempos no ha muerto, solo ha cambiado de forma. Ya no es ese motor ruidoso y humeante que muchos recuerdan, sino una base sobre la que se están construyendo soluciones muy sofisticadas. Si alguna de estas ideas llega a producción en motos, no será por nostalgia, sino porque ofrece algo que sigue siendo muy atractivo: mucha potencia, mucha eficiencia volumétrica y una simplicidad mecánica que, bien resuelta, puede volver a tener sentido en un mundo obsesionado con las emisiones.

Imágenes | Patentes, archivo

En Motorpasión Moto | Hace 25 años BMW soñó con MotoGP: un proyecto clandestino del que crearon dos bestias que volaban. Y hoy, parte de esa moto circula por las carreteras

Inicio