Ni eléctricas ni gasolina. A Kawasaki se le ha ocurrido un invento japonés de cinco cilindros que podría ser el futuro de las motos

Kawasaki plantea soluciones inéditas, como integrar una bomba de combustible dentro del propio motor

Kawa Portada
Sin comentarios Facebook Twitter Flipboard E-mail
john-fernandez

John Fernández

Kawasaki no se rinde con el tema del hidrógeno. Ya van varias patentes (y un prototipo que ha rodado en pista, delante de todo el mundo; mostrando las ‘maravillas’ de su invento) de su moto de hidrógeno que quiere ser la alternativa a la gasolina y a la electricidad. Y ahora, un capítulo más.

¿Cómo quiere hacer terrenal, mundano y accesible Kawasaki su moto de hidrógeno? Pues los nipones quieren ahora hacerlo líquido para meterlo (de verdad) en una moto.

Kawasaki intenta encajar el hidrógeno líquido en una moto sin que parezca un depósito

La casa de Akashi sigue explorando el motor de combustión con hidrógeno, pero el mayor problema es el tamaño, y la viabilidad real de los depósito. Es decir, que sobre el papel, el hidrógeno tiene una ventaja clara: por masa, es extremadamente energético, pero en una moto eso importa menos de lo que parece. El verdadero cuello de botella está en el volumen.

Ni siquiera comprimido a altísima presión (pongamos 700 bar) el hidrógeno ocupa muchísimo más espacio que la gasolina solo para obtener la misma autonomía. En otras palabras, que para igualar un depósito en una moto de gasolina convencional, necesitarías un tanque de hidrógeno varias veces más grande .

La solución ‘amigable’ de los japoneses era poner dos depósitos en los laterales de la moto. En cierto modo parecían maletas de viaje como  las que se pueden poner a cualquier trail, pero en el interior residían dos y dos depósitos, cuatro en total donde se almacenaba el hidrógeno. El problema es que son grandes, voluminosos, pesados e inútiles en cuanto a autonomía, todavía.

Kawa 2

Japón no se rinde. Así que la nueva patente opta por explorar un cambio en la física: cambiar el estado del combustible, y en vez de usar hidrógeno comprimido, usar hidrógeno en estado líquido, que no es lo mismo.

Eso permitiría aumentar la densidad energética por volumen y reducir el tamaño necesario del depósito; dos de los grandes problemas de esta moto. El problema ahora, entonces, es otro: la temperatura.

Kawa 1

Problema, porque para mantener el hidrógeno en estado líquido hay que llevarlo a condiciones criogénicas extremas (por debajo de los -250 °C), lo que obliga a usar depósitos altamente aislados y con formas específicas para minimizar pérdidas térmicas.

Pues otro problema, otra solución muy Kawasaki. Los últimos diseños patentados por la marca japonesa atacan otro de los puntos débiles del hidrógeno líquido: la presión de suministro. Mientras que el hidrógeno comprimido sale disparado del depósito por sí mismo, el líquido necesita otros sistemas para alcanzar esa misma presión.

Kawa 3

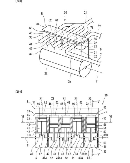
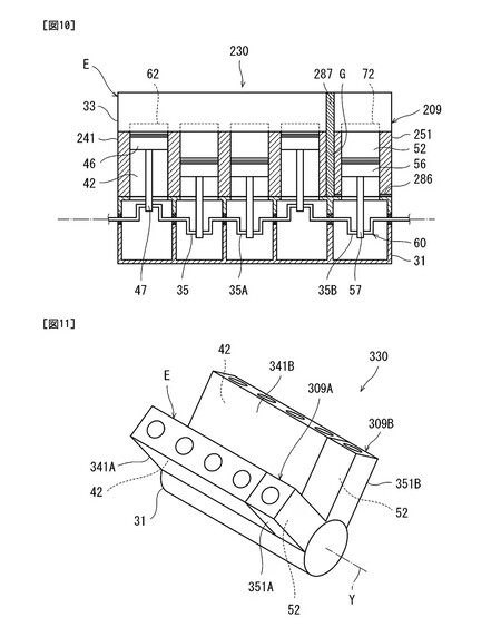
Y justo ahí viene el ingenio nipón: han creado un sistema de doble bombeo, en el que una de las bombas no es un componente externo, sino que está integrada directamente en el propio motor como si fuera un cilindro adicional. Entonces, en los esquemas de la patente se ve un cinco cilindros en línea, que en realidad es el motor de cuatro cilindros con un cilindro extra dedicado exclusivamente a presurizar ese combustible. Hasta han pensado en variantes más complejas como configuraciones tipo V con varios cilindros actuando como bombas.

Japón sigue siendo uno de los referentes de la ingeniería, y nos lo han vuelto a demostrar. Si esto sale adelante, y el interés está ahí y es visible, podría darnos una moto que sería la salvación a decir adiós a los motores de combustión, alimentando un motor de combustión tradicional con emisiones prácticamente nulas, ya que el resultado es básicamente vapor de agua.

Que nadie cante victoria, porque los problemas no se han ido. Desde el almacenamiento hasta la evaporación del propio combustible, Kawasaki tiene mucho que resolver aún.

Imágenes | Kawasaki

En Motorpasión Moto | El milagro de KTM: en poco más de un año ya venden casi el doble de motos. Son el ejemplo de cómo salir de una de las crisis más bestias de la historia

Inicio