Honda también está trabajando en motos con radar para evitar accidentes por alcance

Honda también está trabajando en motos con radar para evitar accidentes por alcance
1 comentario Facebook Twitter Flipboard E-mail
jesus-dominguez

Jesús Domínguez

Honda no para. Aunque parezca que se lo toma con tranquilidad y saca pequeñas renovaciones de las motos que tiene (como la familia CB500), en realidad está realizando muchos movimientos por detrás del telón comercial.

Si hace poco hablamos de que la marca japonesa quería evitar que nos robasen la moto con un casco con reconocimiento facial, ahora también ha patentado un radar que puede salvarnos la vida y alertarnos de posibles colisiones traseras.

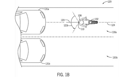
El radar alertará al conductor con vibraciones y luces

Honda Patente Radar 1

Uno de los golpes que menos podemos evitar cuando vamos en moto es el que viene por detrás de nosotros, donde menos vemos lo que sucede y, por tanto, donde más vamos a tardar en reaccionar si es que incluso nos llegamos a percatar de que un vehículo viene contra nosotros de forma incontrolada.

Un radar puede ser una posible solución para evitar esos casos. Y así lo entiende Honda al registrar esta patente publicada el 4 de abril de 2019. Este sistema tiene un radar con una cámara que se coloca detrás del casco y que registra en tiempo real lo que ocurre detrás del motorista.

Honda Patente Radar

De forma instantánea envía los datos a una CPU que analiza los vehículos que se aproximan por detrás de nosotros y su cercanía. Cuando se acercan rápidamente, su función es la de alertar al conductor con algún tipo de mensaje en el cuadro de instrumentos y a través de señales hápticas como vibraciones en el asiento o en los puños.

El mayor inconveniente es que se añade peso al casco (un incordio si ya tenemos otros aparatos como los intercomunicadores). Otras marcas como Kawasaki o Ducati han pensado en esta tecnología, pero colocándola directamente sobre la moto y no sobre el casco.

Como idea, este radar parece interesante, pero de la teoría a la práctica hay un mundo y nos surgen varias dudas sobre este sistema: ¿nos avisaría con la suficiente antelación como para que podamos reaccionar con tiempo y escaparnos de la trayectoria del vehículo que nos va a embestir? ¿Será igual de efectivo cuando llevamos a alguien de copiloto o será éste el que tenga que llevar el radar? ¿Cuánto pesará el aparato? ¿Qué precio tendría si saliese al mercado? ¿Honda podría sacar un casco en el que integre todas las tecnologías que está patentando?

Comentarios cerrados
Inicio