HOY SE HABLA DE

BMW está trabajando en su primera moto eléctrica: una naked para el carnet A2

Bmw Electrica 3 2023
1 comentario Facebook Twitter Flipboard E-mail
john-fernandez

John Fernández

Poco a poco los grandes fabricantes de motos van liberando la liebre y tímidamente siguen la tendencia del mercado con las motos eléctricas. Ahora sabemos que quien está trabajando en un modelo eléctrico de baja-media cilindrada es BMW.

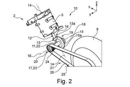
Los alemanes han registrado una patente que deja claras sus intenciones: electrificar lo que parece su actual BMW G 310 R. Sería la primera moto eléctrica de la casa, sin contar los scooters eléctricos que viene desarrollando en su gama.

Tendría 42 CV y reciclaría los componentes eléctricos del BMW CE 04

Bmw Electrica 4 2023

En el mercado de los scooters eléctricos BMW ha sido una de las referencias desde el primer día. Los alemanes fueron muy capaces con su C Evolution que luego dio paso al CE 04, una máquina vanguardista en diseño y tecnología que ha puesto los puntos sobre las íes dentro del complicado mercado de lo eléctrico.

Sin embargo y a pesar de ser la referencia y tener cierta parte del pastel en las eléctricas, les faltaba una moto eléctrica en su catálogo. Eso puede acabar pronto porque recientemente la casa bávara ha registrado las nuevas patentes que desvelan una eléctrica bajo la plataforma de la G 310 R.

Bmw Electrica 2 2023

Según el diseño que aparece registrado, la primera moto eléctrica será una naked enfocada a un uso urbano e interurbano. Utiliza la plataforma de la pequeña moto de BMW, pero en la parte eléctrica recicla los componentes técnicos del actual BMW CE 04.

Todo indica que los componentes son los mismos: desde las baterías, hasta el módulo de control e incluso el motor eléctrico. Si nos fijamos en los detalles la moto pasaría a tener 1.380 mm y no los 1.685 de la actual CE-04, por eso han resituado el motor girándolo 90 grados de forma longitudinal, inclinado en 45 grados y con un engranaje cónico que transmitiría por una correa la potencia eléctrica a la rueda trasera.

Bmw Electrica 1 2023

Si utiliza el mismo motor, aunque dispuesto de otra manera, tendría unos 42 CV, aunque es probable que la moto pese menos por lo que podría dar un mejor par motor. Lo mismo sucede con el paquete de baterías, prestado del scooter.

Por el momento no hay más información sobre la moto eléctrica naked de BMW, ni siquiera cuándo llegará. El que hayan registrado oficialmente una patente con toda esta información es un obvio paso adelante para su comercialización, pero a día de hoy, no hay nada más que sepamos.

No es la primera vez que BMW ya sueña con una moto eléctrica. Recordamos con cierto escepticismo al concept Vision DC Roadster y la E-Power Roadster. Dos ideas que llegaron incluso a ser prototipos y que se quedaron en el tintero de algún despacho, pero parecían muy realistas en 2019.

De aquellas motos se esperaba un motor que entregaba una potencia de 100 kW (134 CV) limitado a 12.000 rpm (es capaz de llegar a 14.000 rpm) con un par motor de 200 Nm. Su velocidad está limitada a los 160 km/h (podría llegar hasta los 200 km/h). Chasis multitubular en azul, 290 kg, baterías de 13 kWh y recarga en una hora eran algunos datos de aquella eRoadster.

Comentarios cerrados
Inicio