Honda recupera una vieja y revolucionaria idea: un triciclo que frena solo y que podría competir con el Yamaha Niken

Honda Triciclo 4 2023
Sin comentarios Facebook Twitter Flipboard E-mail
john-fernandez

John Fernández

Si bien la industria de las motos recibió con los brazos abiertos los triciclos, no han sido muchos los fabricantes que se han lanzado a la aventura. Los más llamativos, Piaggio y sus MP3 y Yamaha y sus Niken.

Una que siempre quiso entrar en esta particular carrera fue Honda. Los japoneses hicieron bastantes amagos con su propio triciclo, pero nunca llegó a nada. Ahora han registrado una nueva patente que demuestra que el proyecto sigue vivo, y trae bastantes novedades porque su prototipo frena solo.

Sería la competencia del Yamaha Niken, y además, este frenaría solo

Honda Triciclo 1 2023

2015 fue la primera vez que Honda tanteó la idea de un triciclo, o como algunos la llaman, la moto de tres ruedas (aunque una moto tiene dos). La idea se había desvanecido, hasta que en Japón, y según Young-Machine, dicen que la fábrica ha recuperado la idea este 2023.

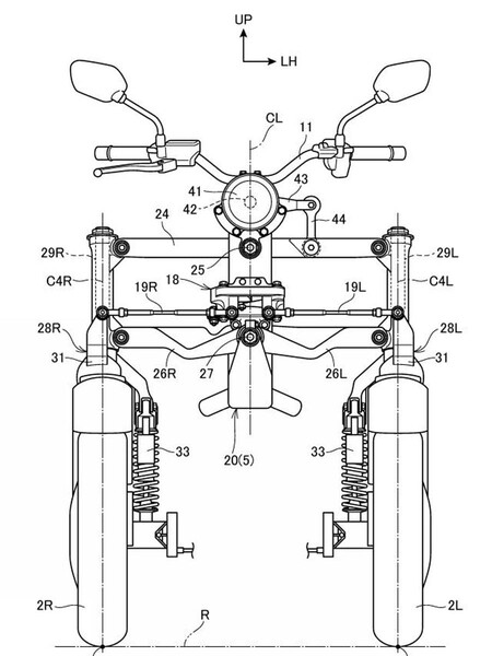
Han registrado una patente (como se puede observar arriba) bajo el nombre "triciclo oscilante de dos ruedas", y tiene unas cuantas novedades. Y lo primero que podemos observar es que, efectivamente, es un triciclo con una rueda trasera y dos delanteras. A juzgar por el ángulo de inclinación del bastidor, parece estar basada en la NC750.

La patente de Honda enseña dos suspensiones delanteras a cada lado que se sostienen por unos eslabones en paralelo. Es distinto a la idea que propusieron en 2018, cuando mostraron un esquema de doble paralelogramo deformable independiente.

La gran novedad de esta moto es que frenaría sola. ¿Cómo lo haría? El ACC o control de crucero adaptativo es una realidad en muchas motos gracias a los radares que llevan equipados. Según el tipo de moto y marca, estos son capaces de intervenir en el modo de potencia y control electrónico de la suspensión.

Sin embargo, acelerar y desacelerar es otra cuestión por lo evidentemente peligroso que es para un motorista que la moto tome el control; por eso solo interviene mínimamente. Una moto que frene sola en una curva es todo un peligro, no nos engañemos.

Honda Triciclo 3 2023

La solución de aplicarlo en un triciclo la tiene Honda con un sistema llamado 'dispositivo de asistencia al giro', y que utiliza el equilibrio de las ruedas delanteras para controlar la inclinación de la carrocería del vehículo.

Este sistema calcula el control de par que se tiene que aplicar en función del grado de inclinación de las dos ruedas delanteras, y determina si el vehículo está girando o no. Si va en línea recta, lo mantiene en posición vertical y aplica la frenada. Si determina que está en una curva, aplica los frenos mientras genera torsión para mantener la inclinación.

Los frenos se aplican solos, pero la dirección depende del conductor, aunque el sistema ayuda a mantener la estabilidad en plena curva.

Desde luego que la idea puede repeler a los motoristas más clásicos, pero atraer a otra gran parte del público que busque comodidad. Incluso en Young-Machine mencionan la posibilidad de que "cualquiera pueda disfrutar de una vida segura en moto, incluso los discapacitados".

Comentarios cerrados
Inicio