HOY SE HABLA DE

Los chinos han inventado un 'holeshot' a lo MotoGP para sus motos de calle. Han sido tan listos que podrían revolucionar algo tan simple que ninguna marca había pensado en ello

Ducati Holeshot 1 2024
Sin comentarios Facebook Twitter Flipboard E-mail
john-fernandez

John Fernández

La evolución y el I+D+i en el mundo de la moto hasta ahora se atribuía, casi de forma unánime y exclusiva a las marcas europeas y japonesas. Eso ha cambiado, y mucho. Las marcas chinas de moto se han metido tanto en la pelea que ya no solo traen motos buenas, bonitas y baratas, sino que se han metido en la pelea por la innovación.

Que se lo digan a un gigante hasta en el que confía KTM, que es CFMoto. Los chinos acaban de patentar una idea tan simple como maravillosa que permite ajustar el chasis al gusto. Algo que, evidentemente, ya existe, pero no de una manera tan sencilla como lo que proponen los chinos.

Un holeshot a lo chino: barato y funcional

Tengamos en cuenta algo en el comportamiento dinámico de una moto: un par de ajustes en la altura del chasis provocan un efecto tan inmediato, severo e importante en el funcionamiento de una moto. Y si no, que se lo digan a los 'holeshot' de MotoGP que tanta discusión han traído.

Prácticamente, casi todas las motos de hoy en día, dependiendo de la suspensión, permiten modificar ajustes de la amortiguación trasera. Pero claro, hacen falta herramientas, o bien motos que ya vienen con sofisticados y carísimos dispositivos electrónicos que las regulan.

CFMoto ha ido al grano, y es una prueba más de lo listos que son los chinos: están desarrollando un sistema ultra simple que permitirá ajustar la altura del chasis con una sola mano en segundos. Sin nada más; ni herramientas, ni carísimas evoluciones tecnológicas.

Cfmoto 2 2024

Los más frikis de este mundillo sabrán que, modificando un par de ajustes y levantando la parte trasera del chasis se crea una inclinación más pronunciada para una dirección más precisa, y el peso se distribuye a la parte delantera. Por el contrario, bajándola, tenemos una mejor dirección e inclinación, y el centro de gravedad es más bajo. Y las salidas, como un tiro: sin caballitos. Por eso nacieron los dispositivos 'holeshot' en MotoGP, que regulan la altura mediante una palanca que tiene un funcionamiento mecánico.

Pues CFMoto se ha sacado de la manga su propio 'holeshot', pero para las motos de calle y sin necesidad de palancas ni nada raro: tus manos y un par de segundos, literalmente. Y ahí está la pequeña gran revolución.

Cfmoto 1 2024

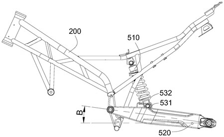
Según revela la patente de Cycle World, el sistema para motos con monoamortiguador trasero, permite modificar tres alturas de pilotaje (alta, media y baja) mediante una especie de volante instalado en el lugar donde el amortiguador trasero se atornilla al basculante.

En lugar de un soporte fijo para el amortiguador, se utiliza un eje con engranaje que se acopla a una cremallera. Girando el volante en sentido horario, se eleva la parte trasera de la moto; girándolo en sentido antihorario, se baja la altura de conducción.

Para mantener la posición han patentado tres bolas de metal con resorte en el soporte del amortiguador que se alinean con hendiduras en el eje, bloqueando el sistema en posiciones delantera, trasera o media. Este mecanismo simple y económico mejora el manejo de la moto.

Y así es como los chinos ya no es que se coman parte del mercado, sino que vienen con soluciones tan simples como llamativas en las que nadie había pensado antes. Pequeños entresijos que hacen a las motos más simples, accesibles y divertidas.

Comentarios cerrados
Inicio