Esto promete: las patentes dicen que la futurible Kawasaki ZX-4R podría tener 64 CV

Kawasaki ZX-25R
Sin comentarios Facebook Twitter Flipboard E-mail
suso-martin

Suso Martín

Redactor
suso-martin

Suso Martín

Redactor

Después de un tiempo sin tener noticias de la Kawasaki ZX-4R, una nueva imagen filtrada de una patente ha captado toda nuestra atención. Y es que según esta nueva información revelada por Motosaigon, la nueva motocicleta de Akashi utilizaría exteriormente el diseño de la Kawasaki ZX-10R pero con el chasis de la ZX-25R con algunas mejoras.

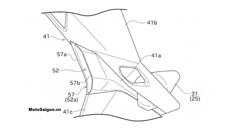
De hecho, las imágenes reveladas se centran en una nueva entra de aire colocada en la parte inferior que redirigiría el aire al radiador sin tener que sobredimensionar su tamaño, estando dirigida a un producto con 400 cc. Pero la publicación va un paso más allá y afirma que sus cifras de peso, potencia y par son de 159 kg, 64,1 CV y 39,2 Nm.

Kawasaki ZX-4R, en busca de la máxima diversión para el A2

Kawasaki Zx 4r Nueva Patente Revelada005 Render creado por Motorcyclenews de lo que sería la nueva Kawasaki ZX-4R

Parecía que los rumores acerca de una Kawasaki Ninja ZX-4R habían desaparecido del panorama al no tener nuevas informaciones en casi cuatro meses. Sin embargo, una publicación en la revista Motosaigon revelando nuevas imágenes de la patente y sus cifras de rendimiento ha cambiado todo.

Y es que hasta ahora, la información está llegando con cuenta gotas. Por el momento sabemos, según los últimos rumores publicados en medios como Motorcyclenews o Young Machine, que Kawasaki tiene la intención de crear una moto deportiva de 400 cc con una potencia que giraría en torno a los 80 o 90 CV y que estaría pensada para los entusiastas del carnet A2. Una concepción que nos recuerda muchísimo a la Kawasaki ZXR400 que tuvo en producción hasta 1999.

Kawasaki Zx 4r Nueva Patente Revelada004 Render creado por Young Machine de lo que sería la Kawasaki ZX-4R

Para la construcción de esta nueva motocicleta, se rumorea que la empresa japonesa podría utilizar como base la pequeña ZX-25R. Una moto lanzada en 2020, que se vende exclusivamente en ciertos mercados asiáticos y que utiliza para impulsarse un motor de cuatro cilindros y 250 centímetros cúbicos con el que es capaz de generar 48 CV de potencia a 17.000 rpm.

Con estas credenciales, los de Akashi aprovecharían su chasis y su parte ciclo para crear el nuevo modelo con un motor más potente y eficaz, pero siguiendo la nueva línea de diseño marcada por la Kawasaki ZX-10R.

Kawasaki Zx 4r Nueva Patente Revelada001

Pues bien, ahora Motosaigon ha sacado a la luz nuevas imágenes de la supuesta patente que mostrarían el detalle de un nueva entrada de aire mucho más grande que redirigiría el flujo de aire hacia el radiador para refrigerarlo sin tener que agrandar su tamaño. Algo razonable si tenemos en cuenta que tiene que enfriar un propulsor de altas revoluciones.

Pero además, la revista relata que esta patente pertenece a un modelo con un motor de cuatro cilindros y 400 centímetros cúbicos de capacidad. Un dato que confirmaría los rumores sobre la utilización de este tipo de motor para la nueva montura de los de Akashi. Sin embargo, la publicación va más allá y revela las prestaciones que tendrá según la referencia de esta patente.

Kawasaki Zx 4r Nueva Patente Revelada003

Para empezar, el vehículo tendría una potencia mucho más contenida de lo que creíamos hasta ahora, arrojando tan solo 64,1 CV a 13.000 rpm por los 80/90 CV a 17.000 rpm que se esperaban. También bajaría su par, ofreciendo tan sólo 39,2 Nm a 10.000 rpm. Unas cifras que podrían desalentar a muchos usuarios que esperaban un producto deportivo de verdad que animase el segmento de las A2.

En cuanto a su peso, la revista Motosaigon revela que será de 159 kg y que contará con un depósito de combustible de 16 litros. Todo ello respetando las nuevas normativas de emisiones (Euro 5). En cuanto a tecnología también afirma que contaría con novedades de primer nivel como los modos de conducción, el cambio semiautomático, el control de tracción KTRC, una horquilla invertida o pinzas monobloque de anclaje radial de cuatro y dos pistones para sus frenos.

Kawasaki Zx 4r Nueva Patente Revelada002

De momento, esta es toda la información nueva que tenemos. Por nuestra parte, ya nos pusimos en contacto con Kawasaki España para preguntarle acerca de estos rumores y sus responsables nos dijeron lo siguiente: "no tenemos prevista la llegada a Europa de ningún modelo de 400 cc en los próximos 3 años, Kawasaki está trabajando en tecnología eléctrica e híbrida. Es decir que oficialmente este modelo no va a venir".

Según pase el tiempo veremos qué pasa con este asunto o si la nueva información revelada en esta patente resulta ser un modelo nuevo totalmente diferente al que estábamos esperando.

Comentarios cerrados
Inicio