Una Monkey eléctrica: el último invento de Honda es un híbrido de scooter y patinete plegable, según estas patentes

Honda Plegable
Sin comentarios Facebook Twitter Flipboard E-mail
john-fernandez

John Fernández

Honda quiere revolucionar la movilidad urbana, y ya está en planes de hacerlo con la última patente registrada oficialmente: se trataría de un invento a medio camino entre un scooter y un patinete eléctrico, que sería plegable y que trae tantas novedades que sorprenden por no haberlas visto nunca.

Un invento basado en lo que ya están haciendo otras compañías en las grandes ciudades con los scooters eléctricos de alquiler (como los de Acciona o eCooltra en Madrid, por ejemplo). Bajo esa misma idea, Honda quiere dar un paso más allá en el mundo eléctrico. Así, ha presentado no una, sino varias solicitudes de patentes de una… ¿Especie de moto o scooter compacta?

¿Una Honda Monkey eléctrica? La futurista patente que revolucionaría la movilidad urbana

Scooter Electrico Prototipo Honda4

Y sí, lo ponemos en interrogantes porque no sabemos exactamente cómo llamarlo. Ni siquiera ellos le han puesto nombre. Se trata de una máquina compacta, totalmente plegable, con cierta similitud a una motocicleta o scooter, pero a pequeño tamaño, y es que incluye asiento y suspensiones, con un motor eléctrico. Recordemos que en 2025 quieren tener en su catálogo más de 10 modelos eléctricos… Y este podría ser uno de ellos. Cuando la realidad supera a la ficción, bien podría ser una frase hecha para describir el último invento que Honda ha registrado oficialmente.

La patente registrada guarda, incluso, cierto parecido con la Honda Monkey, la línea de minimotos con cabida para personas adultas. Una invención que navega entre el diseño de un scooter convencional y un patinete eléctrico plegable, pero con una autonomía que promete superar con creces a la de cualquier scooter al uso.

Scooter Electrico Prototipo Honda3

Tiene basculante, motor y transmisión, todo ello anclado a la rueda trasera, con una batería que va justo debajo del asiento y que bien podría ser intercambiable. Sin ir más lejos, Honda está desarrollando su propio paquete de baterías para traerlo a Europa, y que ya utiliza en Japón y la India. Por lo que sí, cobra sentido.

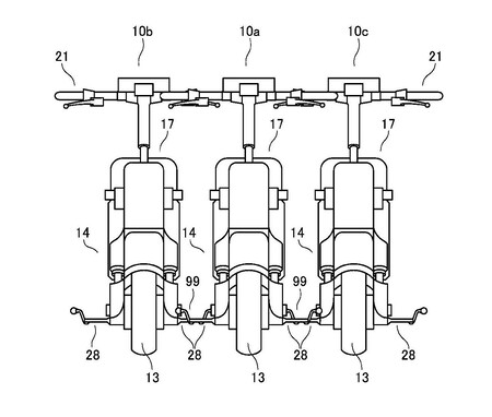
De hecho, su distancia entre ejes es irrisoria, corta. En dicha patente han reflejado que el asiento se puede mover, deslizándose hacia delante o hacia detrás para hacer la moto más pequeña o bien ajustable para los pilotos más grandes y altos. Manillares y reposapiés también son plegables, pudiendo empaquetarla fácilmente, aunque teniendo en cuenta que tampoco es tan pequeño como un patinete eléctrico. La idea de plegarlo podría coincidir con un modelo de negocio de alquiler de modelos repartidos por la ciudad; la empresa los pliega y recoge fácilmente.

Pero espera, porque la idea va un paso más allá, con algo que nunca habíamos oído hasta el día de hoy, agárrate, que vienen curvas: se dispone un sistema de anclajes que permitiría adherir varios de estos aparatos a uno solo, permitiendo que un solo piloto lleve varios acoplados. Se situarían debajo de los estribos e irían acoplados a la horquilla, de tal forma que quedarían así:

Scooter Electrico Prototipo Honda5

Irían también conectados de forma electrónica, por lo que se repartiría el sistema de aceleración, frenado y dirección del scooter principal al resto de ellos acoplados. Incluso son adaptativas, es decir, que, si entran en una curva, mientras la interior frena, la exterior acelera para ayudar a seguir el equilibrio. Una idea muy loca que está más cerca que nunca de cumplirse.

Por el momento sabemos que Honda tiene un proyecto activo, y que está trabajando en ello, como refleja la solicitud de registro. La movilidad urbana daría un paso de gigante con esta invención de Honda.

Comentarios cerrados
Inicio