Todos daban por muertas a las motos de dos tiempos. Kawasaki las va a revivir, y acaba de presentar un invento revolucionario

Kawa Dost 1 2024
1 comentario Facebook Twitter Flipboard E-mail
john-fernandez

John Fernández

La gloriosa época de los motores de dos tiempos llegó a su fin hace ya bastantes años. Hay quienes ni los conocen; los nuevos motoristas. Las normativas anticontaminación se acabaron por llevar por delante a este tipo de motores, y en pleno 2024, no cabría pensar en algo que no fuese un motor de cuatro tiempos.

Excepto si te llamas Kawasaki, tienes un departamento de I+D+i de aúpa y tienes una experiencia como nadie en el mundo de las dos ruedas. El titular es claro: Kawasaki quiere revivir los motores de dos tiempos, pero con matices, y adaptados.

Los motores de dos tiempos podrían volver a la vida gracias a Kawasaki

La información no puede ser más certera: Kawasaki ha registrado este 8 de julio de 2024 una patente llamada "motor de dos tiempos". Y contra todo pronóstico negacionista, su nombre no es ninguna malinterpretación: es un motor de dos tiempos rediseñado. Y tenemos pruebas.

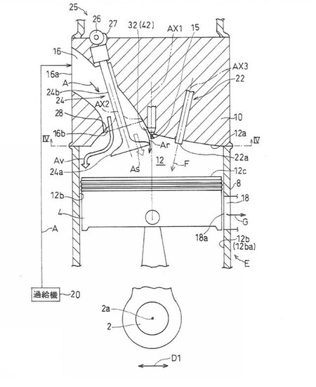
Lo han confirmado los japoneses de Young-Machine. Si bien no es un motor de dos tiempos como los conocíamos, es más bien una reinterpretación. En la patente se puede observar, aparentemente que este diseño incorpora una válvula cónica, comúnmente utilizada en motores de cuatro tiempos, pero en este caso, se encuentra en el lado de la admisión. Y es la clave.

La patente describe un motor que combina elementos de diferentes tipos de sistemas de válvulas utilizados en las viejas motos de 2T. Tradicionalmente, estos motores emplean válvulas de pistón, válvulas de láminas de pistón, válvulas de láminas del cárter o válvulas de disco giratorio. Sin embargo, el nuevo diseño de Kawasaki presenta solo dos válvulas en el lado de la admisión, lo cual es inusual y sugiere una innovación en la configuración del motor.

Dost Kawa 1 2024

En un motor típico de dos tiempos, el aire se introduce a través de uno de los sistemas de válvulas, y el pistón realiza la compresión primaria. Luego, la mezcla de aire y combustible es suministrada al cilindro y los gases quemados se expulsan. Este proceso se completa en dos movimientos del pistón: uno ascendente y otro descendente. Esta simplicidad estructural permite una alta relación de compresión y mayor potencia en comparación con un motor de cuatro tiempos de la misma cilindrada, aunque con un consumo de combustible menos eficiente, más consumo de aceite, aunque más potencia.

La innovación de la casa de Akashi significaría un avance importante en la evolución de estos motores ya muertos, combinando lo mejor de ambos mundos. Por eso utilizan inyección directa, en la que el combustible se inyecta directamente en la cámara de combustión con un inyector, y mecanismos para minimizar la mezcla de aceite de dos tiempos en la mezcla de aire y combustible.

Dost Kawa 2 2024

La 'clave', digamos, consiste en añadir una válvula de admisión cónica similar a la usada en motores de cuatro tiempos junto con un sistema de inyección directa de combustible. Así, K.O. a la necesidad de introducir aire en el cárter, simplificando el proceso de admisión y evacuación de gases, uno de los problemas típicos de las motos de 2T.

Y la pregunta del millón es... ¿En qué moto? Está claro que Kawasaki está trabajando en la idea, y según Young-Machine, la moto elegida es la Mach. Una reinterpretación presentada en el EICMA de 2015 que se parece a la Mach III antigua. Se dice que el combustible podría ser hidrógeno, combustible gaseoso que contiene hidrocarburos o combustible líquido que contiene hidrocarburos (gasolina/diesel/alcohol...).

Comentarios cerrados
Inicio