Hasta ahora meter la marcha atrás en una moto era casi exclusivo de Honda. Hasta eso les están arrebatando los chinos

Cfmto Por
Sin comentarios Facebook Twitter Flipboard E-mail
john-fernandez

John Fernández

¿Alguna vez has visto alguna moto con marcha atrás? Pocas, muy pocas lo tienen. Ese privilegio lo estrenó hace ya unas cuantas décadas la Honda Gold Wing. Luego están algunas otras como la BMW K1600GT, algunos modelos de Moto Guzzi o los Trikes de Harley-Davidson.

Hay alguien preparado para cambiar eso: China. Concretamente, CFMoto, que va a poner en su moto touring rival de la RT, la 1250TR-G, la marcha atrás. Detrás, hay una lectura más amplia: los chinos están llegando muy alto. Demasiado.

La moto touring china vale la mitad de una BMW

Tal y como revela Cycle World, en China están trabajando con varias patentes para poner marcha atrás a la moto touring más bestia de la marca. Que por cierto, su motor de 1.279 centímetros cúbicos viene derivado del LC8 que montan las KTM. Ambas empresas colaboran en una joint-venture. Tiene sentido.

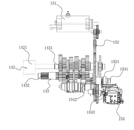
El caso es que han patentado un sistema eléctrico de marcha atrás al motor, utilizando el motor de arranque para impulsar la moto en reversa cuando el sistema está activado, tal y como detallan.

El motor bicilíndrico en V acoge en la mitad al motor de arranque, y se engrana para accionar el cigüeñal y activar la marcha atrás de la moto. Una idea tan simple como brillante que permitirá dar marcha atrás a cualquier moto.

Cfmoto 2 2025

La clave de este sistema radica en la inclusión de una rueda libre unidireccional, un mecanismo que permite que el motor de arranque impulse el cigüeñal cuando el propulsor está apagado, pero evita que continúe girando una vez que el motor toma su propio ritmo. Así, este concepto permite que, con una sencilla modificación, el mismo sistema que enciende la moto pueda utilizarse para hacerla retroceder.

El sistema de marcha atrás incorpora un conjunto extra de engranajes bajo el principal del motor de arranque, activado por un actuador electrónico con una horquilla selectora. Este actuador, con distintos diseños patentados, solo permite la marcha atrás si la moto está en punto muerto. Al activarse, conecta el motor de arranque a la transmisión y lo hace girar en sentido inverso para impulsar la moto hacia atrás. Además, podría incluir una función de avance lento para maniobras, similar a otros sistemas eléctricos de la competencia.

Cfmoto3

CFMoto está preparando su bestia a más no poder. El motor ha sido recién actualizado, ya es capaz de rendir 140 CV y en su última mejora también le han control de crucero adaptativo asistido por radar. Este es, a todas luces, un lujo innecesario, pero que la ponen en la pelea por la alta tecnología; una particular guerra China contra el mundo por hacer motos más baratas e igual de sofisticadas.

Llegados a este puntos, con estos detalles, los chinos van ganándose al público en el bolsillo. Teniendo en cuenta que una RT, nueva, cuesta 23.730 euros, la china cuesta la mitad en su país de origen: 13.000 euros. Y son estas pijadas las que, valiendo la mitad, pueden decidir muchos compradores.

Comentarios cerrados
Inicio