HOY SE HABLA DE

Esto no es un Transformer, son los bocetos de una Honda de tres ruedas ¡híbrida!

Esto no es un Transformer, son los bocetos de una Honda de tres ruedas ¡híbrida!
1 comentario Facebook Twitter Flipboard E-mail
jesus-martin

Jesus Martin

Coordinador
jesus-martin

Jesus Martin

Coordinador

Honda es una gran empresa. Tan grande es que algunas de sus ideas son tan locas que nunca llegan a la producción y se quedan encerradas en algún archivador de una enorme sala a oscuras llena de estanterías. Sin esas ideas no habría progreso y puede que estos bocetos de una Honda ¡híbrida y de tres ruedas! sea parte del futuro.

Este concepto sería una de esas motos que parecen salidas del cine, pero en realidad quizá adelante el futuro del motociclismo de carretera. En un concepto bien conocido de creaciones como el Piaggio MP3 o el Can-Am Spyder, según Ride Apart Honda tomaría un esquema de tres ruedas, con dos alineadas en la parte delantera y capaces de inclinar como ocurre en el triciclo italiano.

El futuro pasa por la electricidad, y Honda lo sabe

Honda Hybrid Moto1

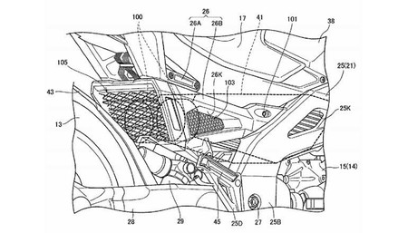
En las entrañas de esta invención extraña se estaría encerrando un motor de desarrollo completamente nuevo, un propulsor de cuatro cilindros en configuración bóxer con el que mantener el centro de gravedad muy bajo ahora que con el peculiar tren delantero ya la anchura no es una condición indispensable.

Honda Hybrid Moto3

Honda no es nueva en la fabricación de motores bóxer, basta con recordar los muchos propulsores de seis cilindros producidos por el gigante japonés para mover las enormes Goldwing. La peculiaridad de este cuatro cilindros sería la adopción de un motor eléctrico acoplado al cigüeñal. Se colocaría justo en el extremo delantero para mantener la correcta refrigeración. Adicionalmente se añadiría según estos esquemas un radiador con un doble electroventilador para bajar la temperatura del motor térmico.

Honda Hybrid Moto2

A juzgar por los bocetos que se han filtrado, la mayor preocupación de los diseñadores es la elaboración de un sistema que sea capaz de disipar el calor. La adición de un motor eléctrico a uno de combustión implica de tener que liberar una gran cantidad de calor añadido, por eso hibridar una motocicleta es un gran reto debido a la falta de espacio.

Honda Hybrid Moto8

Tanto es así que toda la estructura y la carrocería estarían pensadas para optimizar el flujo de aire, manteniendo a través de su interior un caudal constante que baje la temperatura del motor. En cuanto al diseño es difícil hacer ninguna apuesta porque la realidad podría distar eones de estos dibujos, pero el lenguaje empleado es bien parecido al de las últimas Honda más futuristas.

Honda Hybrid Moto4
Honda Hybrid Moto7

Mientras que el bóxer funcionaría con gasolina convencional, el motor eléctrico se alimentaría de la energía producida por un generador y modulada a través de un rectificador. Al menos eso es lo que cabe pensar, pues no se aprecia en estos esquemas ningún sistema de acumulación de energía.

Honda Hybrid Moto6

En cualquier caso, por mucha pereza que nos dé, los tiempos acabarán por cambiar y si hay alguien capaz de atreverse a desarrollar la tecnología híbrida en masa es Honda.

Honda Hybrid Moto5
Comentarios cerrados
Inicio