HOY SE HABLA DE

Una inesperada marca de coches se ha metido a hacer airbags de moto. Y pueden ser la solución a la que solo Honda se ha atrevido antes

Toyota 1 2025
Sin comentarios Facebook Twitter Flipboard E-mail
john-fernandez

John Fernández

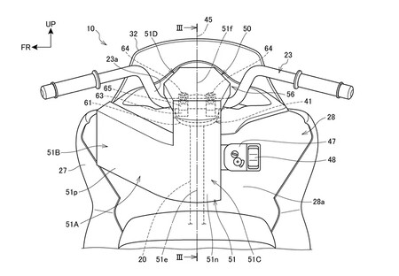
La seguridad en moto podría estar a punto de dar un gran salto adelante. La empresa japonesa Toyoda Gosei (TG) (conocida por suministrar sistemas de seguridad a la industria automotriz, evidentemente tiene que ver con Toyota; es una filial) ha centrado su atención en el mundo de las motos con el desarrollo de un sistema de airbag específicamente diseñado para motos.

Este innovador sistema ya se encuentra en fase de pruebas internas. Toyota ha realizado ensayos de choque con motos reales y maniquíes para analizar a fondo cómo se comporta un airbag en caso de impacto frontal, una de las situaciones más críticas para cualquier motorista. Y parece que funciona.

Podría democratizar el uso del airbag en moto

El objetivo de Toyota es uno: entender mejor la dinámica de los accidentes y adaptar esta tecnología para su posible uso en modelos de producción para algo que ni siquiera ellos fabrican: motos.

Y no es una iniciativa tomada a la ligera. Las cifras globales reflejan una realidad preocupante: cada año mueren alrededor de 360.000 usuarios de vehículos de dos y tres ruedas motorizadas en el mundo. Frente a este panorama, Toyoda Gosei ve una necesidad urgente de ampliar su cartera de soluciones de seguridad también al motociclismo. Negocio o no, las cifras están ahí.

A diferencia de los ocupantes de un coche (protegidos por carrocerías, cinturones y múltiples airbags) los motoristas están mucho más expuestos. Eso es algo en lo que llevan trabajando las propias marcas de motos desde hace años. Incorporar un airbag en una moto, donde el espacio es limitado y las dinámicas de impacto son muy distintas, representa todo un reto de ingeniería.

Toyota 2 2025

Un paso más cerca del futuro. En su prueba más reciente, TG ha evaluado cómo se despliega su airbag en una colisión frontal, y especialmente, cómo interactúa con el cuerpo del piloto. Los primeros resultados son "alentadores", dicen, aunque la empresa admite que aún queda trabajo por delante.

El siguiente paso será una combinación de pruebas en condiciones reales y simulaciones avanzadas, para afinar la respuesta del sistema y lograr que funcione de forma eficaz en situaciones de la vida real. Si todo va bien, podríamos estar ante una nueva generación de sistemas integrados de protección para motociclistas.

Toyota 3 2025

Por ahora, no hay fechas concretas para su llegada al mercado ni confirmación sobre qué fabricantes podrían incorporar esta tecnología. Sin embargo, la tendencia es clara: la seguridad está ganando protagonismo en el mundo de las motos, y los airbags podrían convertirse en parte habitual del equipamiento, como ya lo son en los coches.

De hecho, Honda ya lleva años explorando esta posibilidad con sus propios sistemas de airbag integrados en la Gold Wing, lo que refuerza la idea de que no se trata de una cuestión de "si", sino de "cuándo".

Imágenes |

Comentarios cerrados
Inicio