El nuevo invento revolucionario de Yamaha para sus motos es una vieja idea de Honda, pero mejorada para su próxima R1

Airbag 3 2025
Sin comentarios Facebook Twitter Flipboard E-mail
john-fernandez

John Fernández

Airbags en moto. Suenan a utopía absoluta, y en cierto modo, lo son porque nadie ha sido capaz de desarrollarlos e implementarlos masivamente en motos de producción. Si acaso, el único ejemplo es el de la Honda Gold Wing. Pero es una moto tan particular que casi ni cuenta.

Yamaha está trabajando en la idea, otra vez. En la idea que un día tuvo Honda, pero a diferencia de ellos, quieren hacerlo revolucionario: quieren meterle airbags a las motos deportivas, y a las de calle también. La idea ya está en el horno para los de Iwata.

Nadie creía en poder

El airbag es un elemento de seguridad pasiva. Salva vidas. No podemos ilustrar con datos en moto, porque prácticamente ninguna lo trae. Sí que muchos lo equipan ahora como un accesorio en forma de chaleco. Pero en coche ya ha salvado más de 50.000 vidas en tres décadas, según la NHTSA norteamericana.

Ahora, integrado directamente en una moto, podría salvar otras tantas de aquí al futuro. Justo en eso está trabajando Yamaha. Los japoneses están trabajando en despejar unas cuantas dudas y problemas que históricamente ha tenido el hecho de meter un airbag en una moto.

Han patentado un sistema de sensores que se utilizará en sus próximas motos con airbag. Pero casi que es mejor empezar por los problemas evidentes y racionales de poner un airbag en moto. En un coche, el conductor va sujeto, no se mueve, no saldrá volando gracias al cinturón. En una moto lo más habitual es que el motorista se despegue de la moto. De hecho, es lo más seguro.

Airbag 1 2025

Por ese y otros motivos como el centro de gravedad bajo, la posición retrasada del conductor en comparación a cualquier otro o un chasis grande y estable son los motivos por los que la Gold Wing es la única moto del mercado que viene con airbag.

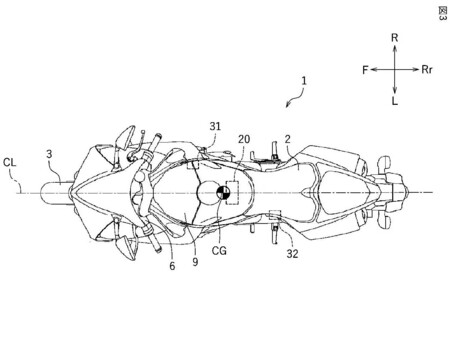
El nuevo sistema de Yamaha funciona mediante sensores. Son dos de aceleración muy parecidos a los de una IMU, por lo que son capaces de medir la aceleración horizontal, lateral y vertical. Así que con uno delante y otro detrás, la moto (o el ordenador del airbag) ya tendrá información suficiente para determinar si la moto está involucrada en un accidente, y casi que lo más importante, la dirección del impacto.

Rbag 2 2025

¿Por qué casi lo más importante? Porque, tal y como recoge Cycle World en declaraciones de un directivo de una marca que está desarrollando airbags para moto, el mayor escollo es el desarrollo de un algoritmo necesario para activar un airbag tan rápido como para desplegarse en una moto. Porque si un accidente en coche ya es instantáneo, en moto es, triste y peligrosamente, es elevado al cuadrado

Y claro, el mayor problema vendría en las motos deportivas por la posición de la cabeza del conductor, que está muy cerca del frontal (semimanillares, asiento, estriberas...). "Básicamente porque estás sentado sobre el depósito o inclinado hacia él", decía el directivo nipón, que ponía como ejemplo a una Yamaha R1.

Sorpresa; es justo la moto que utiliza Yamaha para ilustrar su nueva patente.  Aunque también han utilizado un Tricity. Es decir, que llegará para varios modelos. El caso es que Yamaha ya tiene preparado su asalto a los airbags en motos deportivas. Cuándo lo veremos hecho realidad es la incógnita, como siempre.

Imágenes | Autoliv, Ya

Comentarios cerrados
Inicio