¡Sorpresa! Honda está desarrollando una moto híbrida con dos motores eléctricos, y estas patentes lo demuestran

Honda Hibrida 4 2023
3 comentarios Facebook Twitter Flipboard E-mail
john-fernandez

John Fernández

El futuro de las motos es incierto. Lo que sabemos ahora es que las máquinas de combustión interna siguen siendo el mercado más importante, y muchas marcas ya se han lanzado a la alternativa de las eléctricas. Pero, ¿qué hay de las híbridas?

Precisamente en esta ocasión la sorpresa llega por parte de Honda, que ya tiene en desarrollo una moto híbrida con dos motores eléctricos. No es la primera, porque ese mérito le corresponde a la PCX Hybrid (2018, solo para Asia), pero sí será la más importante y grande hasta la fecha.

11 patentes de una misma moto: todas ellas tienen un motor de combustión y dos eléctricos

Honda Hibrida 5 2023

Mientras Kawasaki tiene en su horizonte sacar la Ninja HEV para 2024, su moto híbrida, el resto de marcas parecían desligarse de ese concepto. Ahora sabemos que Honda se une a la carrera, y tiene sentido si recordamos que el pasado septiembre dijeron que en 2040 la marca sería neutro en emisiones de carbono para 2040.

Sin embargo, en ningún momento dijeron que trabajarían en motos híbridas, de ahí la sorpresa. ¿Cómo lo sabemos? Honda ha registrado unas cuantas patentes (11, concretamente) en las que se muestra el laborioso trabajo de los japoneses.

Honda Hibrida 1 2023

Todas ellas tienen en común una cosa: 11 patentes pero todas forman parte del mismo modelo, con ligeras variaciones entre uno y otro. Desde que se registraron en 2021, Motorcycle.com asegura que se han publicado este mes de julio.

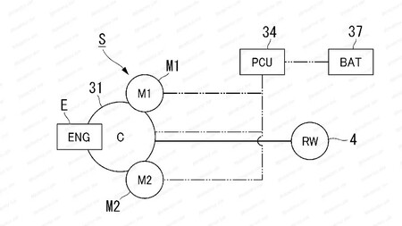
Cada una de ellas define un enfoque y un objetivo distinto: sistema de refrigeración, cadena, posicionamiento de los motores... Pero la idea general queda clara: una moto con un motor de combustión interna de varios cilindros que viene acompañada con dos motores eléctricos 'brushless'.

Honda Hibrida 2 2023

Esos motores eléctricos suministrarán la potencia en conjugación con el de combustión. Una entrega gestionada por una unidad de control de potencia que permitirá varias combinaciones: el de gasolina funcionando solo, con uno o dos motores eléctricos acompañando o permitiendo solo movilidad eléctrica.

Que haya dos motores eléctricos tiene un motivo: uno funciona como propulsor y otro generador de energía, convirtiendo la potencia del motor en electricidad para cargar las baterías. A ello hay que sumar la frenada regenerativa y reducir peso de las baterías.

Honda Hibrida 3 2023

La configuración final es una incógnita. En unas patentes aparece detrás del motor, en otras delante, e incluso uno delante y otro detrás.

La protagonista parece una NC750 actual que vendría equipada con una transmisión variable continua, pero en la patente mencionan que no descartan una caja de cambios manual. También mencionan que llevará doble embrague de Honda para alternar entre los motores.

Comentarios cerrados
Inicio