La moto sin escape, por Erik Buell

La moto sin escape, por Erik Buell
Facebook Twitter Flipboard E-mail
albi

Albi

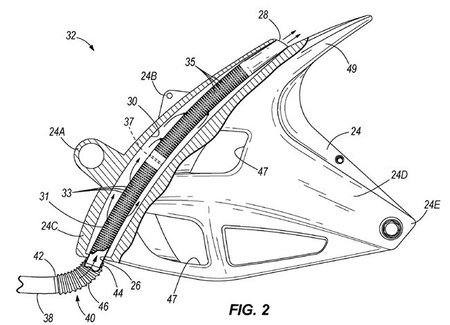
Erik Buell ha inscrito una nueva patente que como siempre no deja de sorprendernos. En este caso se trata de un basculante-escape que integrando así estos dos elementos en una sola pieza da la apariencia a la moto de no tener escape. Supuestamente la principal ventaja de este sistema será la de reducir al máximo el peso del escape a parte de las ventajas estéticas y de integración en el conjunto de la moto.

Así se describe en el resumen de la patente, la intención de Buell:

Una motocicleta que incluyendo un basculante móvil, monta una rueda trasera en el chasis principal de la motocicleta y define una parte hueca a través del cual los gases de escape se pasan antes de ser expulsados por una toma de aire del basculante.

Basculante Erik Buell

La idea me parece bastante atractiva y sobre todo novedosa pero hay un punto del diseño que no me acaba de convencer demasiado como es el tubo flexible que une la parte del basculante al sistema de colectores y que permite al basculante el movimiento que tiene que realizar cuando conducimos la moto. No digo que esta pieza sea imposible, pero tendrá que ser de un material que aguante a la perfección los millones de movimientos que tendrá que soportar.

Continuamos leyendo en la patente que:

La parte hueca del basculante está dividido en por lo menos tres cámaras, y una pluralidad de tubos configurados para proporcionar por lo menos dos cambios de dirección del flujo dentro del basculante, con múltiples expansiones volumétricas entre la entrada y la salida.

Escape de Erik Buell

Entonces es cuando he pensado en lo que me costó el último escape que compre para mi CBR600 y no me puedo llegar a imaginar cuanto podrá costar el escape-basculante del Señor Buell si se estropea. Otro inconveniente que veo, es que el pasajero e incluso el piloto pueden bajar de la moto con un olor a “fritanga” digno de la mejor churrería.

Por la fecha en la que se ha inscrito la patente el 24 de Abril de 2009 aunque esta figure a nombre de Erik Buell, seguramente esta pertenece a Harley Davidson. Ya que Harley se quedó no solo con Buell sino con todos sus derechos y patentes. Por lo que quizás esta patente se quede metida en un cajón y no vaya a ver la luz nunca, lo que sería una lástima para saber si realmente el diseño funciona en la vida diaria.

¿Vosotros que pensáis?

Vía | Visor down.

Más información | Freepatents online.

Comentarios cerrados
Inicio