BMW presenta la patente para un escape combinado con el basculante

BMW presenta la patente para un escape combinado con el basculante
5 comentarios Facebook Twitter Flipboard E-mail
morrillu

Morrillu

Editor

No es la primera vez que los fabricantes de motocicletas intentan darle un uso al basculante más allá de conectar la rueda trasera con la suspensión. Y es que un trozo hueco de aluminio como en el caso de las deportivas puede dar más juego del que parece en un principio. La última en presentar una patente ha sido BMW, en este caso como cámara de resonancia para los gases de escape, pero hemos tenido casos anteriores así que vamos a ir por orden y hablar primero de los antecedentes.

El más cercano no llegó de la mano de uno de los ingenieros que más le da a la cabeza: Erik Buell. Con un diseño basado en la Buell 1125R (que ya utilizaba el propio basculante como depósito de aceite del motor Rotax que montaba), ubicaba todo el conjunto de escape también detrás, tal y como os explicamos hace años.

Quien utilizó ya este sistema fue el fabricante norteamericano Confederate en su primer modelo de la Hellcat. Tal y como podéis apreciar en esta foto, los colectores se unían directamente mediante una unión flexible al basculante, hueco y que era a su vez el escape.

Bmw Exhaust Patent

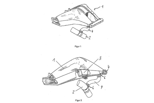
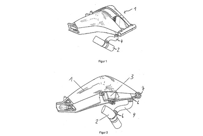
En el caso de BMW y lógicamente teniendo en cuenta lo estrictas que son las normativas de ruidos y emisiones, sería imposible utilizar el basculante como escape y prescindir de él. Pero sí se puede usar, como dijimos, de cámara de resonancia y anular parte del sonido.

De esta forma el silencioso ya no tendría que ser tan voluminoso y a su vez, además de descargar visualmente el lateral de la motocicleta también reduciría parte de su peso al integrarlo en una posición mucho más centralizada.

De momento la patente se ha presentado para el basculante que lleva su versión más deportiva, la BMW S1000RR.

Vía | AMCN

Comentarios cerrados
Inicio