Una empresa sueca acaba de patentar un manillar explosivo para moto que evitará daños al conductor en accidentes frontales

Manillar
Sin comentarios Facebook Twitter Flipboard E-mail
suso-martin

Suso Martín

Redactor
suso-martin

Suso Martín

Redactor

Los sistemas de seguridad en el mundo de las dos ruedas han avanzado a pasos agigantados. Tanto es así que ya no nos extraña ver la incorporación de los airbag en los monos de protección o los sistemas de parada de motor ante las caídas que pueden evitar daños mayores tanto para nosotros como para nuestra montura. Pese a que muchos de estos aun no son obligatorios en el día a día, las empresas siguen investigando nuevas posibilidades.

En este sentido, y buscando mejorar la seguridad de los conductores y minimizar sus daños, la empresa Autoliv ha creado el primer manillar autoexplosivo del mundo. Se trata de un dispositivo capaz de detonar las fijaciones del manillar para que en caso de accidente el piloto no sufra las consecuencias de un impacto directo con esta barra de metal.

Sigue en fase de desarrollo

Patente Autoliv

La empresa sueca Autoliv está especializada en sistemas de seguridad inflables, o lo que es lo mismo, en airbags. Gracias al conocimiento tan extenso de este producto, sus ingenieros han inventado un sistema capaz de hacer explotar el manillar de una moto para evitar daños al conductor.

Este dispositivo está pensado sobre todo para accidentes frontales. En este tipo de percances, nuestro cuerpo tiende a salir disparado hacia el frente y si no disponemos en nuestro vehículo de un sistema de seguridad como los cinturones que utilizaba, por ejemplo, la BMW C1, es muy posible que acabemos impactando de forma brusca con el manillar.

Manillar Explosivo

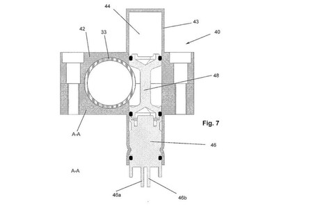
Para evitarlo, los ingenieros de la marca sueca han inventado un dispositivo explosivo (como el que utilizan en sus propios airbag) que se puede colocar tanto en los tornillos de las fijaciones como en el propio manillar para que, en caso de colisión frontal, éstos puedan explotar y liberen la barra que nos ocasionaría más daños.

Otro sistema que han patentado hace referencia a unos cortes en el manillar de la moto donde colocar las diferentes cargas explosivas. Estas se detonarían tras el impacto, fragmentando de manera controlada el manillar por los cortes previos realizados en su estructura.

Patente Autoliv

Pese a que es una idea genial, estos sistemas sólo han sido registrados en la oficina de patentes. Su desarrollo sigue en proceso de mejora y su aplicación técnica dependerá también de la aprobación de las autoridades competentes. Aunque dudamos que las empresas del sector apuesten por un producto que en caso de fallar pueda ocasionar accidentes potencialmente mortales. Aun así, estaremos a la espera de noticias.

En Motorpasión Moto | El contramanillar: la técnica de conducción que todos hacemos, aunque de forma inconsciente |Remy Gardner aprovecha una caída de Raúl Fernández para encarrillar el mundial y Jorge Navarro vuelve al podio

Comentarios cerrados
Inicio