BMW tiene una idea muy loca para revolucionar la iluminación de las motos, y ya la han patentado

Faro Gs 4 2024
Sin comentarios Facebook Twitter Flipboard E-mail
john-fernandez

John Fernández

Seguro que muchos conocen lo que es un gimbal, y otros tantos los desconocen. Para quienes no lo sepan, es una suspensión cardán, un soporte giratorio que permite rotar un objeto alrededor de un eje. Y sobre él, BMW quiere revolucionar la iluminación en las motos.

La idea supondría una importantísima mejora a la hora de iluminar la carretera cuando tumbamos, evitando que el foco siempre apunte al mismo sitio. Y como extra, una cámara que graba y se mueve al unísono.

Un gimbal que se va moviendo con el motorista

Faro Gs 1 2024

BMW Motorrad está a la vanguardia de la técnica y la tecnología. Los alemanes están empeñados en sacar sistemas nunca visto, y llevan un 2024 de órdago por delante de cualquier otra marca de motos. Los de I+D+i en Berlín se están estrujando mucho el cerebro por sacar ideas inéditas, y esta es una de ellas que afecta a algo tan básico como la iluminación en moto.

Su última idea se inspira en el gimbal que utilizan los cámaras profesionales para grabar. Básicamente porporciona una estabilidad impresionante, evitando las vibraciones, temblores y movimientos bruscos. Están formados por tres cardanes, uno montado sobre el otro con ejes de pivote ortogonales.

Faro Gs 2 2024

Como precedente, cabe decir que la BMW R 1250 GS (no la R 1300 GS) ya tiene un sistema de luces que se mueve en el interior de la carcasa y que contrarresta la inclinación y el cabeceo hasta 35 grados hacia derecha o izquierda en las curvas.

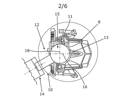
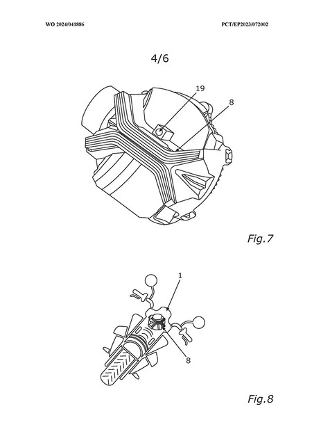
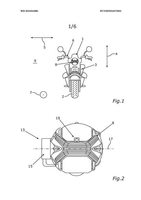
Entendida la teoría, veamos cómo tiene pensado BMW traerlo al mundo de las motos y qué de diferente tiene con la R 1250 GS. Y es básicamente tood, porque coloca el faro en un cardán de tres ejes, exactamente igual que el gimbal de las cámaras o teléfonos móviles que cualquiera puede comprar en Amazon.

Faro Gs 3 2024

Según recoge Cycle World, el primer eje hace que el faro esté nivelado al tumbar la moto; el segundo compensa la inclinación de adelante hacia atrás; y el tercero hace que la luz gire físicamente hacia la dirección de la tumbada. El corazón y cerebro de esta idea es la IMU, a la que está conectado este gimbal para entender la trazada, ángulo de inclinación etcétera.

Sobre la cámara BMW no especifica mucho, por no decir nada. Simplemente que está ahí, y parece que será un extra a ciertos sistemas de asistencia que están por llegar, o que ya están habilitados como asistencia de carril, asistencia de frenado o control de crucero adaptativo. O incluso faros de matriz adaptativos que se encienden y apagan las largas cuando detectan tráfico contrario para no deslumbrar.

Comentarios cerrados
Inicio