BMW ha tenido la idea más loca de su historia: una moto carenada como una cápsula y con ocho ruedas para evitar caídas

BMW explora una moto completamente carenada con forma de lágrima para maximizar eficiencia y autonomía (o eso creemos)

Motillo
Sin comentarios Facebook Twitter Flipboard E-mail
john-fernandez

John Fernández

A BMW le gusta meterse en fregados; en inventos y experimentos raros. Ya lo hizo hace bastantes años con aquella C1, la moto con cubierta. Su último experimento parece cualquier cosa menos una moto convencional, pero hay una patente; y sí, es obra firmada por BMW.

Los de Múnich vuelven a meterse en el mundo de las motos completamente carenadas, cerradas como una cápsula y diseñadas con una única obsesión: la eficiencia aerodinámica. No solo recuperan una vieja idea, sino que la llevan a un extremo bastante peculiar. Atención.

Una cápsula con solución radical al mayor problema de las motos cerradas

La base, el objetivo del concepto es bastante sencilla: reducir al máximo (remarcamos, al máximo) la resistencia al aire. Para ello, los alemanes proponen una carrocería totalmente cerrada con forma de lágrima, uno de los diseños más eficientes que existen a nivel aerodinámico.

De hecho, no han descubierto la pólvora, ni nada nuevo. Ya hubo intentos bastante serios antes. El caso más conocido es el de Peraves Monoracer, una especie de cápsula sobre dos ruedas capaz de superar los 250 km/h cuyo truco era su bajísima resistencia al aire.

Así que BMW parte de esa idea sobre tres pilares: menos aire que empujar, menos consumo, más autonomía.

Bmw 1

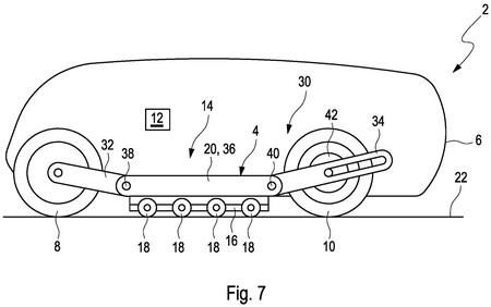
Sin embargo, y antes de pasar a lo siguiente, una moto cerrada tiene un inconveniente extremadamente básico, de Perogrullo, incluso: que simplemente no puedes apoyar los pies. Y claro, en algo con dos ruedas, suele acabar mal. Además, BMW no lo hace fácil porque descarta soluciones como giroscopios por peso y complejidad, y apuesta por algo más mecánico.

Lo que pasa es que lo que no es tan lógico es cómo lo resuelve. Mientras otros sistemas usan dos pequeñas ruedas laterales desplegables, BMW decide ir mucho más allá: propone ocho ruedas auxiliares, organizadas en dos filas de cuatro.

Bmw 2

Ocho ruedas, y la lógica detrás no es absurda: de esa manera, en lugar de depender de dos puntos de apoyo este sistema reparte el contacto, aunque una o dos ruedas queden en el aire o en un bache, el resto mantiene la estabilidad. Por si fuera poco, al no necesitar que las ruedas estén tan separadas, les permite hacerlo más estrecho, punto clave.

Aquí viene la parte realista: que llegue a producción es complicado y no porque no funcione, sino porque este tipo de vehículos llevan décadas intentando hacerse un hueco sin éxito.

Ahora bien, el contexto está cambiando. Con la electrificación, la necesidad de eficiencia y las ciudades cada vez más saturadas, quizá este tipo de soluciones tenga más sentido que nunca… y no es que BMW haya perdido la cabeza, sino que no está jugando a lo mismo que los demás.

Imágenes | BMW, The Motorcycle Safety Exchange

En Motorpasión Moto | Hace 80 años alguien puso un agujerito en la pistola de la gasolina. Su invento sigue evitando millones de derrames cada día

Inicio