HOY SE HABLA DE

Honda tiene listo un sistema para que su próxima Gold Wing parezca una nave espacial. Será lo más cercano al coche autónomo

Gold 1 2024
2 comentarios Facebook Twitter Flipboard E-mail
john-fernandez

John Fernández

Si hablamos de la reina de la carretera, inmediatamente, la moto que se nos viene a la cabeza es la Honda Gold Wing. La moto moutinrg japonesa es como una nave espacial de dos ruedas, y en su próxima versión lo será todavía un poco más porque llegará con un paquete tecnológico de aúpa.

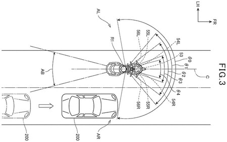
Se espera que la próxima Gold Wing llegue con cámaras, radares y hasta un LIDAR como el que tienen los coches autónomos y con el que podrá leer todo su entorno para ser una de las motos más seguras del mercado.

La próxima Gold Wing será prácticamente una moto semiautónoma

Los sistemas de radar ya vienen en motos desde hace años. Lo que sucede es que las marcas han tomado radares desarrollados por terceras marcas como Bosch; Honda, en cambio, ha decidido esperar y hacer el suyo propio. Y aquí está, pues será inaugurado en la próxima Gold Wing.

Desarrollado completamente desde cero, el objetivo es que la moto sea prácticamente indestructible, que no se pueda derribar y proteja al motorista. Para ello, Honda ha utilizado tres tecnologías: radar, cámara y LIDAR, creando un sistema todo en uno.

Con el radar, la nueva Honda podrá detectar objetos hasta en la oscuridad o niebla; con la cámara leerá los colores, señales, luces de freno o señales de tráfico; mientras que el LIDAR es un sistema láser que va creando un mapa tridimensional del entorno.

Gold 2 2024

A través de un ordenador de a bordo, Honda ha creado una máquina que es capaz de interpretar toda esta información y construir una visión 360º de todo lo que rodea a la moto.

En consecuencia, la Gold Wing es capaz de gestionar diversos sistemas como el control de crucero adaptativo, frenado automático de emergencia y asistencia de mantenimiento de carril. Hasta tendrá aviso de ángulo muerto en función de la velocidad, reflejado a través de los espejos retrovisores.

Visto este despliegue tecnológico, las motos están a punto de entrar en una etapa completamente nueva donde ya podrían rozar el hecho de ser casi autónomas. Habrá que esperar para ver en el mercado semejante despliegue técnico; y su precio, que no será barato teniendo en cuenta que ya cuesta 31.000 euros.

Comentarios cerrados
Inicio