Dos patentes (más) de Suzuki apuntan hacia la reinvención de los motores y una nueva familia retro

Dos patentes (más) de Suzuki apuntan hacia la reinvención de los motores y una nueva familia retro
4 comentarios Facebook Twitter Flipboard E-mail
jesus-martin

Jesus Martin

Coordinador
jesus-martin

Jesus Martin

Coordinador

¿Y si el futuro de las motos estaría fuera de los supuestos convencionales? ¿Y si para mejorar los niveles de emisiones hubiera que darle la vuelta a lo que hasta ahora tenemos asumido como normal? ¿Y si el comportamiento de las motos pudiera cambiar con una alteración de los paradigmas establecidos?

Quizá esto es lo que esté ocurriendo dentro de algunas marcas en las que algunos conceptos estarían patas arriba literalmente. Suzuki ha patentado una configuración mecánica que le da la vuelta por completo a los motores tal y como los conocemos ahora.

Un larguísimo basculante y un motor más bajo

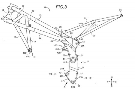
Según los dibujos filtrados de la Oficina Japonesa de Patentes la configuración mecánica sería completamente ajena a lo que se estila hoy en día. Según el portal Morebikes, este esquema registrado a nombre de Suzuki refleja una distribución completamente distinta de un motor convencional, poniendo los cilindros en una posición atípica: colocados en la parte inferior.

La parte más ancha de un motor es, siempre, aquella donde se ubica el cigüeñal. Colocar el cigüeñal en una posición elevada tiene interesantes ventajas como conseguir una zona inferior más estrecha para que nada roce en inclinación, reducir la altura del motor aproximándolo al suelo o incrementar la agilidad de la moto en general.

A cambio, también hay inconvenientes como un mayor efecto de las inercias derivadas de la rotación del propio cigüeñal o una pérdida de estabilidad al colocar las masas más arriba, pero estos efectos podrían contrarrestarse con las nuevas geometrías y, aquí es donde viene quizá lo más importante de la idea.

Durante las últimas décadas hemos ido viendo cómo las motos cada vez se han vuelto más cortas entre ejes para ganar capacidad de maniobra y han alargado sus basculantes para mejorar la estabilidad y la tracción. Con un motor que estuviera dado la vuelta el basculante podría anclarse al mismo pivotando en una posición mucho más adelantada sin que el cigüeñal y los accesorios (embrague, alternador, caja de cambios...) interfieran. De esta manera se podría instalar un basculante XXL con el que hacer una moto infinitamente más estable. Junto con el cigüeñal la caja de cambios también se recolocaría más alta y habría que reposicionar la admisión, el escape y el depósito de combustible obviamente.

Sí que es cierto que a lo largo de la historia ha habido algunos intentos de realizar propuestas similares pero no han pasado de ser más que papel mojado. Pero espera, que hay más.

Marchando una café racer

Patente Suzuki 1

Por si no fuera suficiente con darle la vuelta a los motores, Suzuki ha registrado también una segunda patente que ha salido a la luz durante los últimos días (registrada el 14 de febrero), y vuelve a ser un cambio más que notable en lo que hasta el momento estaba haciendo Suzuki.

Porque sí, son muchas las voces que acusan de un excesivo conformismo en Hamamatsu. No hay apenas innovación y la recuperación de modelos tan míticos como la Katana no parecen más que obras de maquillaje. Ahora, de ser cierta esta patente, Suzuki estaría trabajando en una plataforma completamente distinta de estilo retro.

Patente Suzuki 2

A juzgar por los bocetos esta pequeña café racer utiliza un motor de un solo cilindro colocado en posición convencional, rodeado por un chasis mixto con placas en la zona trasera y tubular en la delantera, acompañado por un masivo basculante con refuerzos inferiores en la zaga y una horquilla invertida en el tren delantero.

La configuración es sencilla, pero al mismo tiempo resulta prometedora porque a la vista está que han apostado en este caso por la ligereza. La estética queda relegada a un segundo plano y posiblemente, de llegar a la producción, se utilice como punto de partida para la creación de varios modelos.

Patente Suzuki 3

Llantas de aleación, un solo freno de disco delante, estriberas muy retrasadas, escape en la parte inferior, asiento monoplaza... Si tuviéramos que apostar diríamos que esta pequeña café racer sería una pequeña máquina deportiva altamente emocional.

Ahora sólo falta ver si Suzuki despierta de su letargo y empieza a devolvernos la ilusión. Todavía estamos esperando a ver si se deciden a resucitar a la Hayabusa.

Comentarios cerrados
Inicio