A Honda se le ha ido la pinza: en Japón quieren tomar el control de la moto y que el manillar de la moto gire por ti con este sistema

Una ayuda pensada para mejorar la seguridad que abre un debate incómodo sobre hasta dónde debe intervenir la tecnología en la conducción de una moto

Honda P
Sin comentarios Facebook Twitter Flipboard E-mail
john-fernandez

John Fernández

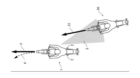
Honda acaba de registrar una patente que, leída en frío, suena a ciencia ficción aplicada a las motos. O directamente a sacrilegio, según a quién le preguntes. La idea es sencilla de explicar y compleja de digerir: una moto capaz de ayudarte a girar el manillar de forma automática para esquivar un coche que se te cuela por el ángulo muerto.

No es un casco nuevo ni una ayuda visual. Es dirección asistida con intervención real. Si el sistema detecta que otro vehículo se aproxima de forma peligrosa y tú no reaccionas, la moto aplica par sobre la dirección para corregir la trayectoria y evitar el impacto. Dicho de otra manera: la moto puede mover el manillar por ti.

Cuando la moto decide por ti: Honda patenta una dirección asistida para esquivar coches

El planteamiento bebe claramente del mundo de los coches. Sistemas de asistencia a la evasión, correcciones suaves cuando el conductor no reacciona a tiempo, ayudas que actúan justo antes de que todo se vaya al garete. En un coche, ese tipo de tecnología ya está asumida. En una moto, la cosa cambia bastante.

Honda lo sabe. Y por eso, según describe la patente, el sistema no actúa como un interruptor de encendido y apagado. Analiza constantemente qué está haciendo el piloto. Si detecta que ya estás frenando, acelerando o girando, interpreta que has visto el peligro y puede intervenir con más decisión. Si no hay reacción alguna, la ayuda entra de forma progresiva, aumentando poco a poco el par de dirección para evitar un movimiento brusco que pueda descolocarte.

Desde el punto de vista técnico, el razonamiento es impecable. En dos ruedas no hay margen para giros violentos ni correcciones secas. Un volantazo mal dado no salva la situación, la empeora. Honda lleva décadas trabajando con estabilidad, equilibrio y ayudas electrónicas, y aquí se nota ese conocimiento acumulado.

Patente 2

El problema no es tanto si el sistema puede funcionar. La pregunta incómoda es otra: ¿queremos que funcione?

La moto, a diferencia del coche, sigue siendo un ejercicio constante de atención y responsabilidad. Se conduce asumiendo que todo lo que te rodea es un peligro potencial. Incluso cuando no es culpa tuya, conduces como si lo fuera. Esa mentalidad no es opcional, es una cuestión de supervivencia. Y buena parte del atractivo de ir en moto está precisamente ahí: en la conexión directa, sin intermediarios, sin software tomando decisiones por ti.

Patente1

Introducir una ayuda que gira el manillar cruza una línea psicológica importante. No hablamos de control de crucero para descansar en autopista ni de un ABS que actúa cuando ya has cometido un error. Aquí la moto decide cómo esquivar algo. Aunque lo haga bien, aunque lo haga mejor que tú en ese instante, el simple hecho de delegar esa decisión plantea dudas.

Está también el efecto a largo plazo. Si el sistema te "salva" suficientes veces de un coche en el ángulo muerto, la atención acaba relajándose. Los reflejos se embotan. La anticipación, que es la herramienta más valiosa del motorista, pierde filo. En una moto, ese filo lo es todo.

Y luego está la realidad práctica. Cámaras que se ensucian, sensores que interpretan mal sombras o reflejos, software que envejece, sistemas que suman peso, coste y complejidad. Cada capa extra es una posible fuente de problemas, especialmente lejos de un concesionario con herramientas y diagnósticos específicos. Honda intenta minimizarlo con intervenciones suaves y comprobaciones de intención del piloto, pero la complejidad sigue estando ahí.

Si algún día llega a producción, lo lógico sería verla primero en motos grandes, touring o adventure, lejos de cualquier planteamiento deportivo. Y casi con total seguridad, con un botón bien visible para desconectarla.

Porque una cosa está clara: las motos serán cada vez más inteligentes y más dependientes del software. La cuestión es si, en el proceso, no estamos sacrificando justo lo que ha mantenido vivos a los motoristas durante décadas. Cuando vas en moto, todo depende de ti. Sustituir parte de esa responsabilidad por código, por muy bienintencionado que sea, no es un cambio menor. Y no todo el mundo está dispuesto a aceptarlo.

Imágenes | 

En Motorpasión Moto | Hay algo que una moto de gasolina jamás podrá hacer, pero una eléctrica sí: llegar al volcán más alto del mundo. Pero no sirve de nada

Inicio