El casco para moto con visor inteligente podría ser real muy pronto según esta patente en Japón

Ccasco Inteligente De Shoei Con Hud001
2 comentarios Facebook Twitter Flipboard E-mail
suso-martin

Suso Martín

Redactor
suso-martin

Suso Martín

Redactor

Shoei, la firma de cascos de motos, lleva un par de años trabajando en la creación de un modelo que pueda contener un Head-Up Display o lo que es lo mismo, un visor con pantalla inteligente. Esta tecnología, heredada de los aviones de combate y que ya lleva un par de años integrada en los coches, simplificaría los accesorios del piloto cuando circula con su moto.

En 2019 ya presentó durante Consumer Electronic Show de Las Vegas un primer prototipo que avanzaba las intenciones de la marca de intentar implementar esta tecnología en los cascos actuales con el Shoei IT-HT. Ahora, tres años después, ha presentado una evolución denominada Opticson en los Salones de Osaka y Tokio con las últimas novedades agregadas.

Shoei Opticson, para guiarte por la ciudad sin problemas

Ccasco Inteligente De Shoei Con Hud003

Los cascos son el elemento de seguridad por excelencia en el mundo de las motos, aunque su tecnología no es que haya evolucionado demasiado durante los últimos años. Sin embargo, esto puede cambiar gracias a los avances en comunicación que se han producido en la última década del siglo  XXI.

Así, empresas como Shoei están apostando por implementar nuevos sistemas que conecten aun más al piloto con la carretera y con la tecnología sin dejar atrás su seguridad. Para ello, la marca japonesa ha presentado una nueva evolución de su casco con dispositivo Head-Up Display (un HUD).

Ccasco Inteligente De Shoei Con Hud003

Para aquellos que no sepan de qué se trata esta tecnología, lo resumiremos diciendo que es un dispositivo que proyecta en una pantalla dentro del campo de visión del motorista la información más útil durante el viaje sin tener que apartar la vista de la carretera, con el extra de seguridad que esto supone. Además del propio HUD, Sohei ha incorporado auriculares y micrófono para recibir llamadas, escuchar música o recibir las señales acústicas del navegador GPS.

Pues bien, tres años más tarde de su primera muestra, nuestros compañeros de MCN han dado a conocer que la primera patente de este casco ya ha sido aprobada, con lo que su llegada al mercado podría producirse muy pronto. De hecho, en los Salones de Osaka y Tokio de este año hemos podido ver como esta tecnología ha avanzado a pasos agigantados, volviéndose mucho más sofisticada e integrándose mejor en el casco.

Ccasco Inteligente De Shoei Con Hud002

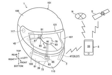
El Opticson, denominación por la que se conoce esta casco con HUD integrado, cuenta con una pequeña pantalla display colocada a la altura del ojo derecho donde un pequeño proyector acoplado en la base de la mentonera envía sus imágenes. La pantalla es ajustable en altura y profundidad para que su ajuste sea óptimo y no moleste al conducir. Además, si no quieres hacer uso de él se puede ocultar sin que moleste o afecte a la seguridad del piloto.

Todo ello estaría gestionado por un sistema totalmente integrado en el casco que contaría con batería propia recargable o ajuste de brillo automático en función de la luz. Este sistema se conecta a nuestro smartphone a través de Bluetooth y aprovecha al máximo el GPS y el navegador del teléfono para mostrarnos las diferentes informaciones, tanto del destino que podamos marcar como de la moto. Seguramente para llevar a cabo todas esas funciones se ofrecerá una aplicación asociada que recoja todos los datos y los procese a través del visor.

Ccasco Inteligente De Shoei Con Hud005

Por el momento no se han desvelado más detalles pero sabiendo que la patente está registrada, es probable que podamos ver el primer casco inteligente 2.0 a finales de 2022 o principios de 2023. Mientras tanto, seguiremos a la espera para informaros de lo que pueda pasar.

Comentarios cerrados
Inicio