HOY SE HABLA DE

Distribución válvulas neumáticas

Distribución válvulas neumáticas
Facebook Twitter Flipboard E-mail
morrillu

Morrillu

Editor

Ya desde hace dos años, muchas de las noticias que llegan a nuestros oídos llevan implícita la frase distribución neumática, desde la entrada de Ilmor a MotoGP, importando su experiencia en la f1 este tipo de accionamiento de las válvulas; hasta en las últimas carreras, en la que se espera la llegada del nuevo motor de Honda con este sistema, y, por supuesto, pasando por la rotura el año pasado del motor de Valentino Rossi cuando lo estrenaron.

Nuestro lector Antonio Pérez, nos envió un mensaje pidiéndonos si podíamos explicar el funcionamiento de este sistema, así que vamos a intentarlo.

Partimos de la base que un motor de distribución convencional,el movimiento de apertura de las válvulas está gobernado por la leva, que empuja al balancín o al empujador y éste, a su vez, empuja a la válvula. En este movimiento de apertura, además, se comprime el muelle helicoidal de la válvula, acumulando la energía necesaria para llevar a cabo el movimiento inverso. A medida que aumentamos las revoluciones, se producen varios fenómenos en los muelles que imposibilitan su uso más allá de ciertos límites, a saber:

  1. Fatiga del material: la cantidad de veces que se puede actuar sobre un muelle sin que pierda sus fuerza de resorte disminuye drásticamente.

  2. Aceleraciones: a un régimen de giro de 19.000 vueltas, un conjunto muelle-válvula que pese unos 150 gramos, sufre una fuerza de aproximadamente 20.000G, por lo que el muelle tiene que ser capaz de desplazar una masa de 300 kilos, lo que implica que este debe ser más resistente y la leva tiene que hacer mucha más fuerza para comprimirlo y abrir las válvulas, disminuyendo la efectividad del motor en fricciones y esfuerzos innecesarios

  3. Flotación de válvulas: cuando el resorte no puede recuperarse a tiempo del empuje de la leva, es "golpeado" nuevamente por esta antes de cerrar completamente la válvula sobre su asiento. En ese caso, la válvula permanece "flotando" y no llega a cerrarse, por lo que el motor pierde todo su rendimiento e incluso el pistón puede llegar a golpear las válvulas produciendo su rotura.

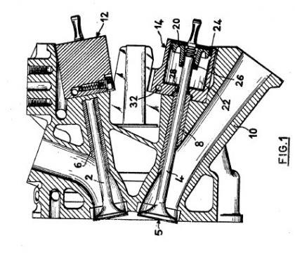
Llegados estos problemas, es dónde se debe empezar a utilizar un sistema neumático, mucho más sencillo de lo que parece a priori, según observamos el siguiente gráfico:

Sistema neumatico

El muelle es sustituido por una cámara estanca que contiene nitrógeno en su interior. Cuando la leva empuja la válvula para que abra, el gas contenido en la cámara aumenta de presión, y esta presión es la que permite que vuelva a cerrar (normalmente en torno a 12-16 bares). La presión interna es controlada electrónicamente por medio de válvulas reguladoras, produciendo un sistema de amortiguación progresiva en su interior al igual que un muelle convencional.

Valvula neumatica

Pero al igual que otros sistemas, el neumático también presenta problemas:

  1. Fugas: ya sabemos la facilidad que tienen los gases para escaparse, por lo que una fuga repercutirá inmediatamente en el funcionamiento del motor.

  2. Peso: en competición, el peso es un enemigo, y este sistema requiere válvulas, depósitos para el gas y sensores.

  3. Aumento de la complejidad: se necesita un sistema que controle el gas, pero a la vez, que detecte fugas y desconecte el motor antes de su destrucción, por lo que todo se lleva a una zona más crítica

Bueno, y entonces... ¿por qué distribución neumática? pues porque la única forma de conseguir más potencia en un motor es aumentando el régimen de giro o bien con sobrealimentación, y esta última forma de ganancia de potencia no esta permitida por reglamento según el apartado 2.3.2 de la Federación Internacional de Motociclismo. Y una vez llegados en torno a las 18.000 vueltas (cuando aparecen los fenómenos no deseados en el accionamiento de las válvulas anteriormente descritos), no hay mas remedio que utilizar el sistema neumático, o el Desmodrómico, pero de ese hablaremos otro día.

Vía | MotoGP Blog, Scarbsf1

Comentarios cerrados
Inicio